schematy24 logo header

Mercedes-Benz CLS C257 (2019-2021) – skrzynka bezpieczników i przekaźników

Mercedes-Benz CLS C257 (2019-2021) – skrzynka bezpieczników i przekaźników

Schemat skrzynek bezpieczników i przekaźników – Mercedes-Benz CLS C257

Dotyczy pojazdów produkowanych w latach:

2019, 2020, 2021.

 

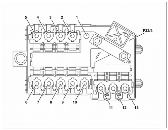
Przypisanie bezpieczników na wewnętrznej skrzynce bezpieczników

Numer Opis Ampery [A]
1 Połączenie, obwód 30t ze skrzynki bezpieczników w komorze silnika – (F32/3)
2 Zapasowy
3 Obudowa klimatyzatora (A32) 40
4 Zapasowy
Reklama

5 Silnik 264 z kodem 401 (klimatyzacja foteli kierowcy i pasażera z przodu) lub kod 824 (dodatkowe części dla krajów przy niskich temperaturach) lub kod 873 (ogrzewanie fotela kierowcy i pasażera z przodu) lub kod 902 (ogrzewanie siedzeń plus dla kierowcy i pasażer z przodu) z wyjątkiem kodu 228 (ogrzewanie postojowe) i z wyjątkiem kod 913 (kod kraju gorącego), silnik 654 z wyjątkiem kodu 228 (ogrzewacz postojowy) z wyjątkiem kodu 913 (kod gorącego kraju), silnik 656 z wyjątkiem kodu 228 (nagrzewnica postojowa) i z wyjątkiem kodu 913 (kod gorącego kraju):

Wzmacniacz grzałki PTC (R22/3)

150
6 Z wyjątkiem kodu 228 (ogrzewacz postojowy) i z wyjątkiem kodu 275 (pakiet pamięci) oraz kodu 414 (dach przesuwny) i z wyjątkiem kodu 460 (wersja kanadyjska) i z wyjątkiem kodu 494 (USA wersji) i z wyjątkiem kodu 873 (podgrzewanie fotela kierowcy i przodu) pasażer):

Skrzynka bezpieczników słupka A po stronie pasażera (F1/3);

Z kodem 228 (ogrzewacz stacjonarny), kodem 275 (pakiet pamięci), kod 414 (dach przesuwny), kod 460 (wersja kanadyjska), kod 494 (wersja USA) lub kod 873 (ogrzewanie fotela kierowcy i przodu) pasażer):

Skrzynka bezpieczników słupka A po stronie pasażera (F1/3)

 

80/150
7 Tylny moduł bezpieczników i przekaźników (K40/5) 150
8 Z kodem 597 (Szyba przednia, podgrzewana) i z wyjątkiem kodu B01 (technologia 48V):

Sterownik nagrzewnicy przedniej szyby (N61)

125
9 Zapasowy
10 Elektryczna jednostka sterująca do w pełni zintegrowanego sterowania przekładnią (Y3/8) 60
11 Zapasowy
12 Zapasowy
13 Zapasowy

 

Przypisanie bezpieczników skrzynki bezpieczników w komorze silnika

Widok z boku, oglądany z góry

F32/3 Skrzynka bezpieczników w komorze silnika

K57/4 Przekaźnik odłącznika akumulatora

Numer Opis Ampery [A]
1 ESP (N30/4) 60
2 ESP (N30/4) 40
3 Skrzynka bezpieczników słupka A po stronie pasażera (F1/3) 30
4 Z kodem B01 (technologia 48V):

Przyłącze obwodu akumulatora pokładowej instalacji elektrycznej 30 (G1);

Z wyjątkiem kodu B01 (technologia 48V):

Przyłącze obwodu ogranicznika spadku napięcia 30 (R62).

5 Z kodem 489 (AIR BODY CONTROL):

Bezpiecznik silnika i moduł przekaźnika (K40/8);

Z wyjątkiem kodu 489 (AIR BODY CONTROL):

Bezpiecznik silnika i moduł przekaźnika (K40/8).

150/80
6 Moduł bezpieczników i przekaźników po stronie kierowcy (K40/6) 150
7 Model 257: Silnik wentylatora 12,0 RD (M4/7)

Model 290: Silnik wentylatora 12,0 RD (M4/7)

80/150
8 Sterownik elektrycznego wspomagania kierownicy (N68) 100
9 Model 257 z silnikiem 654, 656:

Stopień wyjściowy żarzenia (N14/2);

Silnik 264 z wyjątkiem modelu 257 o kodzie M006 (wariant wyjściowy):

Elektryczna pompa płynu chłodzącego (M75/11)

100/60
10 Skrzynka wstępnych bezpieczników wewnątrz pojazdu (F32/4) 300
Reklama

11 Zapasowy
12 Zapasowy
13 Z kodem B01 (technologia 48V):

Jednostka sterująca przetwornicą DC/DC (N83/1);

Z wyjątkiem kodu B01 (technologia 48V):

Alternator (G2).

400
C1 Połączenie przekaźnika odłącznika akumulatora (K57/4)

 

Skrzynka bezpieczników i przekaźników w bagażniku

Model 257, 290

 

Model 257, wariant 1

Przyłącze „E1” K40/5 Tylny bezpiecznik i moduł przekaźnika

 

 

Model 257, wariant 2

Przyłącze „E1” K40/5 Tylny bezpiecznik i moduł przekaźnika

 

 

prze

 

Numer Opis Ampery [A]
400 Zapasowy
401 Zapasowy
402 Zapasowy
403 Z wyjątkiem kodu 278 (w pełni elektryczne przednie fotele) i z wyjątkiem kodu 275 (pakiet pamięci):

Przełącznik częściowo elektrycznej regulacji fotela przedniego pasażera (S23/1)

30
404 Z wyjątkiem kodu 278 (w pełni elektryczne przednie fotele) i z wyjątkiem kodu 275 (pakiet pamięci):

Przełącznik częściowo elektrycznej regulacji fotela kierowcy (S22/1)

30
405 Model 290 z wyjątkiem kodu 224 (Indywidualny system tylnych siedzeń Design):

Port USB w tylnym przedziale pasażerskim po lewej stronie (X115/3);

Port USB w tylnym przedziale pasażerskim po prawej stronie (X115/4);

Model 290 z kodem 224 (Indywidualna konstrukcja systemu tylnych siedzeń):

Tylny uchwyt na kubek (R5/3).

5
406 Z kodem 380 (Pakiet Telefonii Samochodowej) i kodem 899 (Telefonia wielofunkcyjna):

Przełącznik anteny telefonicznej (A2/168)

5
407 Z kodem 432 (lewe i prawe dynamiczne gniazdo wielokonturowe):

Pompa pneumatyczna gniazda wielokonturowego (M40)

30
408 Z kodem 811 (Zaawansowany system dźwiękowy):

Tylny wzmacniacz niskotonowy (N40/14);

Model 257 z kodem B63 (Sportowy dźwięk silnika), z wyjątkiem kodu 810 (Nagłośnienie) i z wyjątkiem kodu 811 (Zaawansowany dźwięk) system):

Jednostka sterująca dźwiękiem silnika (N40/1).

30
409 Model 257 z kodem U79 (BlueTEC (SCR) oczyszczanie spalin z silników Diesla, generacja 3):

Jednostka sterująca AdBlue® (N118/5)

15
Reklama

410 Z kodem B01 (technologia 48V):

Jednostka sterująca przetwornicą DC/DC (N83/1)

5
411 Jednostka sterująca układu paliwowego (N118) 25
412 Model 257 z kodem 531 (COMAND APS) i kodem 830 (Dodatkowe części do pojazdów z Chin), model 290 z kodem 531 (COMAND APS) i z wyjątkiem kodu 498 (wersja japońska):

Złącze multimedialne w tylnym przedziale pasażerskim (A90/7);

Model 257 do 30.06.2019:

Port USB, tylny przedział pasażerski (X115/2);

Model 290 z wyjątkiem kodu 224 (Indywidualny system tylnych siedzeń Design):

Port USB, tylny przedział pasażerski (X115/2);

Port USB w tylnym przedziale pasażerskim po lewej stronie (X115/3);

Port USB w tylnym przedziale pasażerskim po prawej stronie (X115/4);

Model 290 z kodem 224 (Indywidualna konstrukcja systemu tylnych siedzeń):

Port USB w tylnym przedziale pasażerskim po lewej stronie (X115/3);

Port USB w tylnym przedziale pasażerskim po prawej stronie (X115/4).

7,5
413 Z kodem B01 (technologia 48V):

48 V akumulator pokładowej instalacji elektrycznej (G1/3)

5
414 Z kodem 865 (tuner TV):

Jednostka sterująca tunera TV (N143)

5
415 Z kodem 233 (DISTRONIC PLUS):

Jednostka sterująca Mercedes-Benz Intelligent Drive (N62/4)

5
416 Z kodem B24 (Pilot zdalnego sterowania nagrzewnicy stacjonarnej):

Odbiornik radiowy zdalnego sterowania nagrzewnicy stacjonarnej (A6/1)

5
417 Z kodem 891 (Oświetlenie otoczenia Premium):

Jednostka sterująca oświetleniem otoczenia (N162)

7,5
418 Zapasowy
419 Zapasowy
420 Zapasowy
421 Zapasowy
422 Zapasowy
423 Zapasowy
424 Model 290 z kodem 898 (bezprzewodowe ładowanie w tylnym przedziale pasażerskim) z wyjątkiem kodu 224 (indywidualny system tylnych siedzeń projekt):

Jednostka sterująca uchwytem telefonu komórkowego w tylnym przedziale pasażerskim (N123/10)

7,5
425 Z kodem 906 (Podgrzewanie podłokietnika przedniego):

Sterownik podgrzewacza podłokietnika (N5)

30
426 Model 290 z wyjątkiem kodu B26 (Pakiet aerodynamiczny AMG):

Sterownik tylnego skrzydła (N170)

15
427 Model 290 z kodem 467 (elektroniczna blokada mechanizmu różnicowego):

Sterownik elektrycznej blokady mechanizmu różnicowego (N3/2)

25
428 Z kodem 489 (AIR BODY CONTROL):

Jednostka sterująca AIR BODY CONTROL Plus (N51/8)

15
429 Model 290:

DIRECT SELECT INTERFACE (N150)

5
Reklama

430 Zapasowy
431 Zapasowy
432 Model 290 z kodem 201 (Sterowanie tylną osią):

Sterownik skrętu prawej tylnej osi (N68/4)

50
433 Model 290 z kodem 201 (Sterowanie tylną osią):

Sterownik sterowania lewą tylną osią (N68/3)

50
434 Z kodem 489 (AIR BODY CONTROL):

Przekaźnik AIR BODY CONTROL (K67)

40
435 Model 257 z kodem 881 (zdalne zamykanie bagażnika):

Sterownik pokrywy bagażnika (N121);

Model 290:

Sterownik tylnej klapy (N121/1).

50
436 Zapasowy
437 Zapasowy
438 Zapasowy
439 Zapasowy
440 Zapasowy
441 Zapasowy
442 Model 290 z kodem 224 (Indywidualna konstrukcja systemu tylnych siedzeń):

Tylny uchwyt na kubek (R5/3)

5
443 Zapasowy
444 Z kodem 550 (zaczep przyczepy):

Jednostka sterująca rozpoznawania przyczepy (N28/1)

20
445 Z kodem 550 (zaczep przyczepy):

Jednostka sterująca rozpoznawania przyczepy (N28/1)

30
446 Z kodem 550 (zaczep przyczepy):

Jednostka sterująca rozpoznawania przyczepy (N28/1)

30
447 Z kodem 550 (zaczep przyczepy):

Jednostka sterująca rozpoznawania przyczepy (N28/1)

20
448 Z kodem 550 (zaczep przyczepy):

Jednostka sterująca rozpoznawania przyczepy (N28/1)

449 Z kodem U67 (gniazdo 230 V we wnętrzu) lub kodem U80 (gniazdo 115 V):

Jednostka sterująca przetwornicą DC/AC (N24/3)

25
450 Od 11.12.2018 silnik 256 o kodzie M016 (silnik o wysokiej wydajności), silnik 177:

Sterownik napędu na wszystkie koła (N45)

7,5
451 Z kodem 872 (ogrzewanie siedzeń z tyłu):

Sterownik ogrzewania tylnych siedzeń (N25/6)

30
452 Model 290 z kodem 466 (Aktywne mocowanie silnika):

Aktywna jednostka sterująca mocowaniem silnika (N3/42)

20
453 Z kodem 902 (ogrzewanie fotela plus dla kierowcy i pasażera z przodu):

Sterownik ogrzewania fotela kierowcy (N25/5)

30
454 Z kodem 489 (AIR BODY CONTROL):

Jednostka sterująca AIR BODY CONTROL (N51/3);

Z kodem 459 (zawieszenie stalowe z regulowanym tłumieniem):

Jednostka sterująca adaptacyjnego systemu tłumienia (N51/5)

15
455 Z kodem U67 (gniazdo 230 V we wnętrzu) lub kodem U80 (gniazdo 115 V):

Jednostka sterująca przetwornicą DC/AC (N24/3);

Model 257 do 01.07.2019:

Port USB, tylny przedział pasażerski (X115/2).

5
456 Gniazdo bagażnika (X58/12) 15
457 Model 257 z wyjątkiem kodu 897 (bezprzewodowe ładowanie telefonu komórkowego) i z wyjątkiem kodu 899 (telefonia wielofunkcyjna) z kodem 301 (Pakiet dla palaczy), model 290 z kodem 301 (Smoker’s Pakiet):

Zapalniczka przednia z podświetleniem popielniczki (R3);

Z wyjątkiem kodu 301 (Pakiet dla palacza):

Gniazdo wewnętrzne pojazdu, przód (X58/17);

Z kodem 866 (wstępna instalacja dla rozrywki na tylnych siedzeniach) System):

Złącze elektryczne systemu Rear Seat Entertainment przy fotelu kierowcy (X55/3) i system Rear Seat Entertainment na przednim fotelu pasażera złącze elektryczne (X55/4);

Model 257 z kodem 460 (wersja kanadyjska) lub kodem 494 (USA) wersja) i kod 897 (bezprzewodowe ładowanie telefonu komórkowego) lub kod 899 (Telefonia wielofunkcyjna):

Gniazdo na nogi pasażera z przodu (X58/40).

15
458 Z kodem 301 (Pakiet dla palaczy):

Tylna zapalniczka (R3/1);

Z wyjątkiem kodu 301 (Pakiet dla palacza):

Gniazdo tylnej konsoli środkowej (X58/18).

15
459 Model 290:

Jednostka sterująca jednostki napędowej (N145/1)

15
Reklama

460 Zapasowy
461 Zapasowy
462 Zapasowy
463 Zapasowy
464 Model 290:

Jednostka sterująca jednostki napędowej (N145/1)

5
465 Zapasowy
466 Zapasowy
467 Z kodem 475 (System monitorowania ciśnienia w oponach):

Jednostka sterująca systemu monitorowania ciśnienia w oponach (N88)

5
468 Z kodem 235 (Pilot parkowania z PARKTRONIC):

Jednostka sterująca systemu parkowania (N62);

Z kodem 218 (Kamera cofania) z wyjątkiem kodu 235 (Pilot Parkingowy z PARKTRONIC):

Jednostka sterująca kamery cofania (N66/2).

7,5
469 Z KODEM 871 (Zestaw głośnomówiący):

Tylny moduł przełączający (N38)

5
470 Model 290 z kodem 467 (elektroniczna blokada mechanizmu różnicowego):

Sterownik elektrycznej blokady mechanizmu różnicowego (N3/2)

5
471 Zapasowy
472 Zapasowy
473 Model 257 z kodem U79 (BlueTEC (SCR) oczyszczanie spalin z silników Diesla, generacja 3):

Jednostka sterująca AdBlue® (N118/5)

40
474 Ogrzewanie tylnej szyby (R1) 50
475 Z kodem 810 (Nagłośnienie):

Jednostka sterująca wzmacniaczem nagłośnienia (N40/3);

Z kodem 811 (Zaawansowany system dźwiękowy):

Zaawansowana jednostka sterująca wzmacniaczem nagłośnienia (N40/7);

Model 257 z silnikiem 256 i kodem M016 (wysoka wydajność) wzmocniony silnik) z wyjątkiem kodu B63 (Sportowy dźwięk silnika) i z wyjątkiem kodu 810 (nagłośnienie) i z wyjątkiem kodu 811 (Zaawansowany system dźwiękowy):

Jednostka sterująca wzmacniacza systemu dźwiękowego Midline (N40/2).

40
476 Tylna jednostka sterująca S-A-M (N10/8) 40
477 Tylna jednostka sterująca SAM (N10/8) 40
478 Z kodem 811 (Zaawansowany system nagłośnienia):

Zaawansowana jednostka sterująca wzmacniaczem systemu nagłośnienia (N40/7)

40
479 Zapasowy
480 Model 290 z kodem 224 (Indywidualna konstrukcja systemu tylnych siedzeń):

Ekran dotykowy (A105/3)

5
481 Zapasowy
482 Zapasowy
483 Zapasowy
484 Zapasowy

Przekaźniki

Przekaźnik Opis
S Przekaźnik rezerwowy (K40/5kS)
T Przekaźnik ogrzewania tylnej szyby (K40/5kT)
U Przekaźnik rezerwowy (K40/5kU)
V Przekaźnik rezerwowy (K40/5kV)
Reklama

X Przekaźnik i gniazda systemu Rear Seat Entertainment (K40/5kX)
Y Przekaźnik zapasowy (K40/5kY)

 

Skrzynka bezpieczników po stronie pasażera w słupku A

1 Połączenie „E1”

2 Połączenie „E2”

F1/3 Skrzynka bezpieczników słupka A po stronie pasażera

 

 

 

Numer Opis Ampery [A]
301 Kierownica z lewej strony:

Sterownik prawych tylnych drzwi (N69/4);

Kierownica z prawej strony:

Sterownik drzwi tylnych lewych (N69/3)

30
302 Kierownica z lewej strony:

Sterownik prawych drzwi przednich (N69/2);

Kierownica z prawej strony:

Sterownik drzwi przednich lewych (N69/1).

30
303 Z kodem 278 (w pełni elektryczne przednie fotele) lub kodem 275 (pakiet pamięci):

Sterownik fotela kierowcy (N32/1)

30
304 Z kodem 278 (w pełni elektryczne przednie fotele) lub kodem 275 (pakiet pamięci):

Sterownik przedniego fotela pasażera (N32/2).

30
305 Czujnik deszczu/światła z dodatkowymi funkcjami (B38/2) 5
306 Z kodem 401 (klimatyzacja fotela kierowcy i pasażera z przodu) lub kod 873 (ogrzewanie fotela kierowcy i przedniego) pasażera), z wyjątkiem kodu 278 (w pełni elektryczne przednie fotele) i z wyjątkiem kodu 275 (pakiet pamięci):

Jednostka sterująca ogrzewaniem przednich siedzeń/wentylacją siedzeń (N25/17);

Z kodem 902 (ogrzewanie siedzeń plus dla kierowcy i pasażera z przodu):

Sterownik ogrzewania przedniego fotela pasażera (N25/4)

30
307 Z kodem 362 (HERMES LTE) lub kodem 364 (HERMES – moduł komunikacyjny UMTS dla Rosji):

Jednostka sterująca HERMES (N112/9)

5
308 Wtyczka diagnostyczna (X11/4) 5
309 Z kodem 414 (dach przesuwny):

Moduł sterujący dachem przesuwnym (A98/1);

Model 290 z kodem 416 (dach panoramiczny):

Moduł sterowania roletą przeciwsłoneczną dachu panoramicznego (A98/2)

30
310 Kierownica z lewej strony:

Prawy przedni odwracalny zwijacz napięcia awaryjnego (A76/1);

Kierownica z prawej strony:

Lewy przedni odwracalny zwijacz napięcia awaryjnego (A76).

30
311 Jednostka sterująca układu napędowego (N127);

Silnik 654, 656:

Jednostka sterująca CDI (N3/9);

Silnik 177, 256, 264:

ME-SFI [ME] jednostka sterująca (N3/10).

5
312 Dodatkowa jednostka sterująca systemu przytrzymującego (N2/10) 7,5
313 Multimedialna jednostka przyłączeniowa (A90/5) 7,5
314 Z kodem 228 (ogrzewacz postojowy):

Jednostka nagrzewnicy stacjonarnej (A6)

20
315 Model 290 (oprócz 290.661):

Sterownik napędu na wszystkie koła (N45);

Od 01.12.2018 z kodem B01 (technologia 48V):

Pirofus (F63).

15
316 Jednostka sterująca napowietrznego panelu sterowania (N70) 10
317 Jednostka główna (A26/17) 15
318 Z kodem 882 (Zabezpieczenie wewnętrzne i zabezpieczenie przed odholowaniem):

Syrena alarmowa (H3/1)

5
319 Jednostka sterująca KEYLESS-GO (N69/5) 10
320 Wzmacniacz antenowy FM, AM, CL, DAB i KEYLESS-GO (A2/18) 5
321 Elektroniczna jednostka sterująca stacyjką (N73) 10
322 Klaster instrumentów (A1) 7,5
323 Do 30.11.2018 z kodem B01 (technologia 48V):

Pyrofuse (F63)

15
MF1 (Pin 1) Zapasowy
MF1 (Pin 2) Z kodem 243 (Active Lane Keeping Assist), kodem 513 (Traffic Sign Assist) lub kodem 608 (Adaptive Highbeam Assist) lub kodem 628 (Adaptive Highbeam Assist Plus) z wyjątkiem kodu 23P (Pakiet pomocy kierowcy):

Wielofunkcyjny aparat mono (A40/11);

Z kodem 23P (Pakiet pomocy kierowcy):

Wielofunkcyjna kamera stereo (A40/13)

7,5
MF1 (Pin 3) Z kodem 899 (Telefonia wielofunkcyjna):

Wzmacniacz/kompensator antenowy systemu telefonii komórkowej (A28/15);

Z kodem 897 (bezprzewodowe ładowanie telefonu komórkowego) – i kodem 899 (Telefonia wielofunkcyjna):

Jednostka sterująca uchwytem na telefon komórkowy (N123/8);

Z kodem 899 (Telefonia wielofunkcyjna):

Jednostka sterująca uchwytem na telefon komórkowy (N123/8).

7,5
MF1 (Pin 4) Z kodem 275 (pakiet pamięci), z wyjątkiem kodu 432 (lewy i prawy dynamiczny fotel wielokonturowy):

Sterownik elektropneumatyczny podparcia lędźwiowego fotela kierowcy (N32/23);

Z kodem 432 (lewy i prawy dynamiczny wielokonturowy fotel):

Sterownik wielokonturowy fotela przedniego lewego (N32/15)

7,5
MF1 (Pin 5) Z kodem 275 (pakiet pamięci), z wyjątkiem kodu 432 (lewy i prawy dynamiczny fotel wielokonturowy):

Sterownik elektropneumatyczny podparcia lędźwiowego przedniego fotela pasażera jednostka (N32/24);

Z kodem 432 (lewy i prawy dynamiczny wielokonturowy fotel):

Sterownik przedniego wielokonturowego siedzenia prawego (N32/16)

MF1 (Pin 6) Z kodem 239 (Active Distance Assist DISTRONIC):

Sterownik elektryczny Active Distance Assist DISTRONIC (A108/1)

7,5
MF2 (Pin 1) Zapasowy
MF2 (Pin 2) Z kodem 448 (panel dotykowy):

Panel sterowania Audio/COMAND (A40/9);

Z kodem 446 (tylko panel dotykowy):

Panel dotykowy (A105);

Model 290:

Lewy dolny panel sterowania (N72/4);

Prawy dolny panel sterowania (N72/5).

5
MF2 (Pin 3) Z kodem 380 (pakiet telefonii samochodowej):

Centralka telefoniczna (N123/9)

5
MF2 (Pin 4) Z kodem 463 (Head-up display):

Wyświetlacz przezierny (A40/12)

5
MF2 (Pin 5) Zapasowy
MF2 (Pin 6) Z kodem P21 (Pakiet jakości powietrza):

Generator rozpylaczy perfum (N59)

5
MF3 (Pin 1) Zapasowy
MF3 (Pin 2) Zapasowy
MF3 (Pin 3) Z kodem 448 (Touchpad):

Touchpad (A105)

5
MF3 (Pin 4) Grupa przycisków na desce rozdzielczej po stronie kierowcy (S6/1) 5
MF3 (Pin 5) Z KODEM 581 (Klimatyzacja automatyczna):

Tylna jednostka sterująca klimatyzacji (N22/4)

5
MF3 (Pin 6) Model 290 z kodem 588 (sekwencja aktywacji światłem AMG):

Projektor sekwencji aktywacji światłem AMG po lewej (E47/1);

Projektor sekwencji aktywacji światłem AMG po prawej (E47/2).

5

 

Skrzynka bezpieczników i przekaźników w przedziale pasażerskim po stronie kierowcy

 

 

Numer Opis Ampery [A]
200 Przednia jednostka sterująca S-A-M (N10/6) 40
201 Przednia jednostka sterująca S-A-M (N10/6) 40
202 Silnik 256:

Jednostka sterująca rozrusznika-alternatora (N129);

Silnik 264 o kodzie B01 (technologia 48V):

Alternator rozrusznika (M1/10).

5
203 Kierownica z lewej strony:

Sterownik lewych drzwi przednich (N69/1);

Kierownica z prawej strony:

Sterownik prawych drzwi przednich (N69/2).

30
204 Z kodem 498 (wersja japońska) lub kodem 835 (dodatkowe części do pojazdów z Korei Południowej):

Dedykowana jednostka sterująca komunikacji krótkiego zasięgu (A50/6);

Z kodem 320 (wstępna instalacja pojedynczego napędu CD):

Zewnętrzny napęd CD (A2/132).

5
205 Jednostka sterująca modułu rury kolumny kierownicy (N80) 7,5
206 Z kodem 246 (zegar analogowy):

Zegar analogowy (A70/1);

Z kodem 897 (bezprzewodowe ładowanie telefonu komórkowego) lub z kodem 899 (telefonia wielofunkcyjna):

Port USB na konsoli środkowej z przodu (X115/5).

5
207 Zapasowy
208 Wyświetlacz Audio/COMAND (A40/8);

Z kodem 464 (zestaw wskaźników z pełnym wyświetlaczem):

Silnik wentylatora z pełnym wyświetlaczem cyfrowego zestawu wskaźników (M4/12).

7,5
209 Górny panel sterowania (N72/1);

Jednostka sterująca klimatyzacji (N58/1).

5
210 Jednostka sterująca klimatyzacją (N22/1) 15
211 Jednostka sterująca modułu rury kolumny kierownicy (N80) 15
212 Z kodem B24 (zdalne sterowanie nagrzewnicą stacjonarną) lub kodem 503 (wstępna instalacja pilota zdalnego parkowania) i kodem 380 (Pakiet Telefonia samochodowa) lub kod 899 (Telefonia wielofunkcyjna):

Telefon i aktywny asystent parkowania/stacjonarna antena nagrzewnicy przełącznik (A2/155)

5
213 Kierownica z lewej strony: 

Lewy przedni odwracalny zwijacz napięcia awaryjnego (A76)

Kierownica z prawej strony:

Prawy przedni odwracalny zwijacz napięcia awaryjnego (A76/1)

30
214 Kierownica z lewej strony:

Sterownik lewych drzwi tylnych (N69/3);

Kierownica z prawej strony:

Sterownik drzwi tylnych prawych (N69/4).

30
212-220 Zapasowe

 

Skrzynka bezpieczników i przekaźników w komorze silnika

 

Numer Opis Ampery [A]
101 Silnik 256:

Tuleja końcowa obwodu 87M (Z7/48z1);

Silnik 264:

Moduł diagnostyczny zbiornika paliwa (A101);

Silnik 654, 656:

Jednostka sterująca CDI (N3/9)

15
102 Silnik 654, 656:

jednostka sterująca CDI (N3/9);

Silnik 177, 256:

ME-SFI [ME] jednostka sterująca (N3/10);

Silnik 264:

ME-SFI [ME] jednostka sterująca (N3/10).

20
103 Silnik 654, 656:

jednostka sterująca CDI (N3/9);

Silnik 264:

ME-SFI [ME] jednostka sterująca (N3/10);

Model 257 z kodem U79 (BlueTEC (SCR) spaliny z silnika wysokoprężnego) sprzątanie, Generacja 3):

Jednostka sterująca czujnika NOx za katalizatorem SCR (N37/8);

Jednostka sterująca czujnika NOx przed katalizatorem utleniania oleju napędowego konwerter (N37/12);

Silnik 177:

Moduł diagnostyczny zbiornika paliwa (A101);

Czujnik oleju (poziom, temperatura i jakość oleju) (B40);

Silnik 177:

Grzałka termostatu płynu chłodzącego (R48);

Lewy zawór przełączający powietrze obiegowe (Y101/1);

Prawy zawór przełączający powietrze obiegowe (Y101/2);

Zawór pompy oleju silnikowego (Y130);

Silnik 256:

ME-SFI [ME] jednostka sterująca (N3/10).

15
104 Silnik 654, 656:

jednostka sterująca CDI (N3/9);

Tuleja końcowa obwodu 87M (Z7/75z1);

Silnik 177:

Cewka zapłonowa, cylindry 5+6 (T4/2);

Cewka zapłonowa, cylindry 7+8 (T4/3);

Elektrozawór lewego wałka rozrządu zaworów dolotowych (Y49/4);

Elektrozawór lewego wałka rozrządu wydechu (Y49/6);

Silnik 256:

ME-SFI [ME] jednostka sterująca (N3/10);

Silnik 264:

Rozdzielacz potencjału 2 zasilacz (X30/90).

105 Zapasowy
106 Zapasowy
107 Zapasowy
108 Zapasowy
109 Zapasowy
110 Wzór 257 z kodem 631 (statyczny reflektor LED, ruch lewostronny) lub kod 632 (statyczny reflektor LED, ruch prawostronny):

Lampa przednia prawa (E2);

Z CODE 640 (High Performance LED) lub CODE 641 (Dynamic) Reflektor LED dla ruchu lewostronnego) lub CODE 642 (Reflektor LED z dynamicznym ruchem prawostronnym)):

Lampa przednia lewa (E1);

Lampa przednia prawa (E2).

111 Silnik wycieraczek (M6/1)
112 Zapasowy
113 Z wyjątkiem kodu B01 (technologia 48V):

Rozrusznik (M1)

30
114 Model 257 z kodem 489 (AIR BODY CONTROL):

Sprężarka AIR BODY CONTROL (A9/1)

40
115 Zapasowy
116 Zapasowy
117 Silnik 256:

Elektryczna sprężarka czynnika chłodniczego (A9/5)

7,5
118 Niskotemperaturowa pompa obiegowa 1 (M43/6);

Silnik 256:

Elektryczna sprężarka czynnika chłodniczego (A9/5);

Silnik 256:

Zawór przełączający obwód niskotemperaturowy (Y73/1);

Model 290 z silnikiem 177:

Tuleja końcowa obwodu 87C (Z141/2z1).

15
119 Jednostka sterująca układu napędowego (N127);

Silnik wentylatora (M4/7).

15
120 Z kodem 597 (szyba przednia, podgrzewana) i kodem B01 (technologia 48V):

Sterownik nagrzewnicy przedniej szyby (N61)

5
121 Kondensator zapadkowy (C8) 10
122 Model 290 z kodem 467 (elektroniczna blokada mechanizmu różnicowego):

Sterownik elektrycznej blokady mechanizmu różnicowego (N3/2)

5
123 Przednia jednostka sterująca SAM (N10/6) 5
124 Zapasowy
125 Jednostka sterująca układu napędowego (N127);

Z kodem B01 (technologia 48V):

Akumulator pokładowej instalacji elektrycznej 48 V (G1/3);

Silnik 654, 656:

Jednostka sterująca CDI (N3/9)

Silnik 256, 264:

ME-SFI [ME] jednostka sterująca (N3/10)

Silnik 177:

Jednostka sterująca jednostki napędowej (N145/1)

Z kodem M005 (4MATIC):

Sterownik napędu na wszystkie koła (N45)

5
126 Zapasowy
127 Z wyjątkiem kodu B01 (technologia 48V):

Ogranicznik spadku napięcia (R62)

5
128 Przełącznik świateł zewnętrznych (S1) 5
129 Elektroniczna jednostka sterująca programu stabilności (ESP) (N30/4) 5
130 Zapasowy
131 5
132 Model 257 z kodem 489 (AIR BODY CONTROL):

Jednostka sterująca AIR BODY CONTROL (N51/3)

5
133 Wzór 257 z kodem 631 (statyczny reflektor LED, ruch lewostronny) lub kod 632 (statyczny reflektor LED, ruch prawostronny):

Lampa przednia lewa (E1);

Z CODE 640 (High Performance LED) lub CODE 641 (Dynamic) Reflektor LED dla ruchu lewostronnego) lub CODE 642 (Reflektor LED z dynamicznym ruchem prawostronnym)):

Lampa przednia lewa (E1);

Lampa przednia prawa (E2).

20

 

 

Przekaźniki

Przekaźniki J, K, L, M i O znajdują się wewnątrz obudowy i są mocno przylutowane do płytki drukowanej.

Przekaźnik Opis
G Obwód komory silnika 15 przekaźnik (K40/8kG)
H Obwód rozrusznika 50 przekaźnik (K40/8kH)
I Przekaźnik rezerwowy (K40/8k)
J Przekaźnik CPC (K40/8kJ)
K Przekaźnik rezerwowy (K40/8k)
L Przekaźnik rezerwowy (K40/8k)
M Przekaźnik rezerwowy (K40/8k)
N Obwód przekaźnika 87M (K40/8kN)
O
P Przekaźnik rezerwowy (K40/8k)
Q
R Model 257 z kodem 489 (AIR BODY CONTROL), model 290 z silnikiem 177:

Przekaźnik R (K40/8kR)

Skrzynka bezpieczników i przekaźników, konfiguracja powykonawcza

Pokazano na modelu 257.3

F32/3 Skrzynka bezpieczników w komorze silnika

K40/6 Bezpiecznik i moduł przekaźnika po stronie sterownika

K40/8 Bezpiecznik silnika i moduł przekaźnika

Pokazano na modelu 257

F1/3 Skrzynka bezpieczników słupka A po stronie pasażera

K40/5 Tylny bezpiecznik i moduł przekaźnika

F32/4 Skrzynka bezpieczników wewnętrznych pojazdu

Z kodem B01 (technologia 48V), pokazanym na model 257

F153/2 Komora silnika 48 V skrzynka bezpieczników pokładowej instalacji elektrycznej

Zobacz także:  Mercedes-Benz Klasa R W251 (2005-2013) - skrzynka bezpieczników i przekaźników
Jakub Wojciechowski

Jakub Wojciechowski

Czy ten wpis był przydatny?

Wybierz gwiazdkę, aby ocenić wpis!

Średnia ocen 5 / 5. Liczba ocen: 1

Brak ocen. Bądź pierwszą osobą - zostaw opinię!

Brak komentarzy.

Dodaj komentarz

Twój adres e-mail nie zostanie opublikowany. Wymagane pola są oznaczone *

Kategorie

Wszystkie prawa zastrzeżone ©2024 Schematy24