schematy24 logo header

Toyota Verso AR20 (2009-2017) – skrzynka bezpieczników i przekaźników

Toyota Verso AR20 (2009-2017) - skrzynka bezpieczników i przekaźników

Schemat skrzynek bezpieczników i przekaźników – Toyota Verso AR20

Dotyczy pojazdów produkowanych w latach:

2009, 2010, 2011, 2012, 2013, 2014, 2015, 2016, 2017.

 

Komora silnika

Toyota Verso AR20 (2009-2017) - skrzynka bezpieczników i przekaźników

  1. Skrzynka bezpiecznikowa
  2. Kontroler świec żarowych (1AD-FTV, 2AD-FTV)
  3. ECM
  4. Zespół ECU sterowania skrzynią biegów
  5. ECU wentylatora chłodzącego
  6. Przekaźnik sterujący czyszczenia reflektorów
  7. Sterownik wtryskiwacza
  8. Kontroler świec żarowych (1WW)
  9. Zespół przekaźnika świec żarowych
  10. Skrzynka przekaźników (LHD)
  11. ECU kontroli poślizgu z zespołem siłownika
  12. Skrzynka przekaźników (RHD)

 

Schemat skrzynki bezpieczników w komorze silnika

Wciśnij zakładkę i zdejmij pokrywę.

Toyota Verso AR20 (2009-2017) - skrzynka bezpieczników i przekaźników

Toyota Verso AR20 (2009-2017) - skrzynka bezpieczników i przekaźników

Numer Ampery [A] Opis
1 10 Oświetlenie przedziału bagażowego, lampki toaletowe, lampki grzecznościowe w drzwiach przednich, oświetlenie osobiste/wewnętrzne, oświetlenie stóp
2 20 przed styczniem 2014 r.: system audio, system nawigacji, asystent parkowania (monitor widoku z tyłu)
15 od stycznia 2014 r.: system audio, system nawigacji, asystent parkowania (monitor cofania)
3 10 ABS, klimatyzacja, system audio od listopada 2011 r.), automatyczne sterowanie oświetleniem, otwieranie tylnych drzwi, ładowanie, licznik kombinacji, wentylator chłodzący, tempomat, CVT i wskaźnik zmiany biegów (2ZR-FAE), sterowanie zamkiem drzwi, podwójna blokada, ECT i wskaźnik A/T (2AD-FHV), system kontroli mocy elektrycznej (z systemem wprowadzania i uruchamiania), sterowanie silnikiem, system immobilizera silnika (z systemem wprowadzania i uruchamiania), system wprowadzania i uruchamiania, EPS, przednie światło przeciwmgielne, reflektor, Środek do czyszczenia reflektorów, ogrzewanie, sterowanie wspomaganiem ruszania pod górę, oświetlenie, oświetlenie wnętrza, przypomnienie o kluczyku (bez systemu wsiadania i ruszania), system automatycznego wyłączania świateł, przypomnienie o świetle, system nawigacyjny (od listopada 2011 r.), asystent parkowania (monitor widoku z tyłu) ), asystent parkowania ( czujnik wspomagania parkowania TOYOTA), szyba elektryczna, tylne światło przeciwmgielne, osłona przeciwsłoneczna dachowa, Ostrzeżenie o pasach bezpieczeństwa, SRS, system uruchamiania (z systemem wjazdu i startu), blokada układu kierowniczego (z systemem wjazdu i startu), system stopu i startu, tylne światło, zabezpieczenie przed kradzieżą, system ostrzegania o ciśnieniu w oponach, TRC, VSC, bezprzewodowa kontrola zamka drzwi
Reklama

4
5 10 Klimatyzator, urządzenie do otwierania tylnych drzwi (z systemem wjazdu i startu), sterowanie zamkiem drzwi, system immobilizera silnika, system wjazdu i startu, ogrzewanie, okno zasilania, system uruchamiania (z systemem wjazdu i startu), blokada układu kierowniczego (z systemem wjazdu i startu) , Bezprzewodowe sterowanie zamkiem drzwi (z systemem wprowadzania i uruchamiania)
6 7,5 Tempomat (1AD-FTV, 2AD-FHV, 1WW), ECT i wskaźnik A/T (2AD-FHV), sterowanie silnikiem (1AD-FTV, 2AD-FHV, 1WW)
7 25 Automatyczne sterowanie światłem, mechanizm otwierania tylnych drzwi, licznik kombinacji, kontrola zamka drzwi, podwójna blokada, system immobilizera silnika (z systemem wprowadzania i uruchamiania), system wprowadzania i uruchamiania, przednie światło przeciwmgielne, reflektor, środek do czyszczenia reflektorów, oświetlenie, oświetlenie wewnętrzne, przypomnienie o kluczyku (bez systemu wjazdu i startu), system automatycznego wyłączania światła, przypomnienie o świetle, okno elektryczne, tylne światło przeciwmgielne, osłona przeciwsłoneczna na dachu, ostrzeżenie o pasach bezpieczeństwa, uruchamianie (z systemem wjazdu i startu), blokada układu kierowniczego (z systemem wjazdu i startu), System Stop & Start, tylne światło, zabezpieczenie przed kradzieżą, bezprzewodowa kontrola zamka drzwi
8
9 15 Wieloportowy system wtrysku paliwa/sekwencyjny wieloportowy system wtrysku paliwa
10 20 System blokady kierownicy
11 20 Tempomat (1AD-FTV, 2AD-FHV), wskaźnik ECT i A/T (2AD-FHV), sterowanie silnikiem (1AD-FTV, 2AD-FHV)
12 30 Mechanizm otwierania tylnych drzwi (z systemem wprowadzania i uruchamiania), system immobilizera silnika (z systemem wprowadzania i uruchamiania), system wprowadzania i uruchamiania, system uruchamiania (z systemem wprowadzania i uruchamiania), uruchamianie (bez systemu wprowadzania i uruchamiania), blokada układu kierowniczego, drzwi bezprzewodowe Kontrola zamka (z systemem wprowadzania i uruchamiania)
13 10 Elektroniczny system kontroli przepustnicy
14 10 Kierunkowskaz i światło ostrzegawcze o zagrożeniu
15
16 7,5 Otwieranie tylnych drzwi (z systemem wprowadzania i uruchamiania), tempomat, CVT i wskaźnik zmiany biegów (2ZR-FAE), wskaźnik ECT i A/T (2AD-FHV), system kontroli mocy elektrycznej, sterowanie silnikiem, system immobilizera silnika (z wejściem System Entry & Start), system Entry&Start, uruchomienie (z systemem Entry&Start), uruchomienie (bez systemu Entry&Start), blokada kierownicy (z systemem Entry&Start), bezprzewodowa kontrola zamka drzwi (z systemem Entry&Start)
17 50 z wyjątkiem 1WW: Klimatyzator, Grzejnik
18 50 ABS, wspomaganie ruszania na wzniesieniu, TRC, VSC
19 30 Olej napędowy: wentylator chłodzący
20 40 Wentylator chłodzący
21 30 Środek do czyszczenia reflektorów
22 120 „ECU-IG nr 2”, „HTR-IG”, „WYCIERACZKA”, „WYCIERACZKA RR”, „SPRYSKIWACZ”, „ECU-IG nr 1”, „ECU-IG nr 3”, „ Siedzisko HTR”, „AM1 ”, „DRZWI”, „STOP”, „DRZWI PRZ”, „ZASILANIE”, „DRZWI TYŁ”, „DRZWI PRAWNE”, „OBD”, „ACC-B”, „DRZWI TYP”, „DRZWI PRZ”, „ Bezpieczniki DEF”, „OGON”, „SZYBEKTORA”, „DRL”
23
Reklama

24
25
26 50 oprócz 1WW: „H-LP LH LO”, „H-LP RH LO”, „H-LP LH HI”, „H-LP RH HI” bezpieczniki
50 1WW: bezpieczniki „HORN”, „IG2”, „FUEL PMP”
27 50 oprócz 1WW: bezpieczniki „EFI MAIN”, „IGT/INJ”, „HORN”, „IG2”
50 1WW: „H-LP LH LO”, „H-LP RH LO”, „H-LP LH HI”, „H-LP RH HI” bezpieczniki
28 50 z wyjątkiem 1WW: tempomat (1AD-FTV, 2AD-FHV), ECT i wskaźnik A/T (2AD-FHV), sterowanie silnikiem (1AD-FTV, 2AD-FHV), system Stop & Start
50 1WW: podgrzewacz paliwa
29 30 System VALVEMATIC
30 80 z wyjątkiem 1WW: Układ żarzenia silnika
80 1WW: Elektryczne wspomaganie kierownicy
31 80 z wyjątkiem 1WW: Elektryczne wspomaganie kierownicy
80 1WW: Układ żarzenia silnika
32 120 Benzyna: Układ ładowania, „RDI FAN”, „CDS FAN”, „H-LP CLN”, „ABS №1”, „ABS №2”, „HTR”, „PWR OUTLET”, „HTR SUB №1”, „HTR SUB №2”, „HTR SUB №3”, „ECU-IG №2”, „HTR-IG”, „WIPER”, „RR WIPER”, „WASHER”, „ECU-IG №1”, „ ECU-IG №3 ”, „ Fotelik HTR”, „AM1, DRZWI”, „STOP”, „DRZWI PRZ”, „ZASILANIE”, „DRZWI TYŁ”, „DRZWI LEWE”, „OBD”, „ACC-B” , bezpieczniki „RR FOG”, „FR FOG”, „DEF”, „TAIL”, „SIRROOF”, „DRL”
140 Diesel (oprócz 1WW): Układ ładowania, „RDI FAN”, „CDS FAN”, „H-LP CLN”, „ABS №1”, „ABS №2”, „HTR”, „PWR OUTLET”, „HTR SUB №1”, „HTR SUB №2″, „HTR SUB №3”, „ECU-IG №2”, „HTR-IG”, „WIPER”, „RR WIPER”, „WASHER”, „ECU-IG № 1”, „ECU-IG №3 ”, „ Fotelik HTR”, „AM1, DRZWI”, „STOP”, „DRZWI PRZ”, „ZASILANIE”, „DRZWI TYŁ”, „DRZWI LEWE”, „OBD”, „ Bezpieczniki ACC-B”, „RR MGŁA”, „FR MGŁA”, „DEF”, „TAIL”, „Szyberdach”, „DRL”
Reklama

33 15 Bezpieczniki „IGN”, „MIERNIK”
34 15 Klakson, odstraszający kradzież
35 20 Benzyna: wielopunktowy system wtrysku paliwa/sekwencyjny wielopunktowy system wtrysku paliwa
30 Olej napędowy (przed listopadem 2012 r.): wielopunktowy system wtrysku paliwa/sekwencyjny wielopunktowy system wtrysku paliwa
30 1WW: Pompa paliwa
36 15 Benzyna: wielopunktowy system wtrysku paliwa/sekwencyjny wielopunktowy system wtrysku paliwa
20 Olej napędowy (z wyjątkiem 1WW): wielopunktowy system wtrysku paliwa/sekwencyjny wielopunktowy system wtrysku paliwa
37 50 1WW: „EFI nr 1”, „EFI nr 2”, „EFI nr 4” bezpieczniki
38 40 1WW: System zatrzymywania i uruchamiania
39 30 Grzałka elektryczna (typ elektryczny)
40
41 30 Grzałka elektryczna (typ elektryczny)
42 50 Klimatyzator, Grzejnik
43 50 1WW: Nagrzewnica elektryczna (typ elektryczny)
30 z wyjątkiem 1WW: Nagrzewnica elektryczna (typ elektryczny)
44
45 25 Nagrzewnica elektryczna (typ spalania)
46 30 ABS, wspomaganie ruszania na wzniesieniu, TRC, VSC
47
48
Reklama

49
50 15 Gniazdo zasilania
51 10 z wyjątkiem HID: lewy reflektor (światła mijania)
15 HID: lewy reflektor (światła mijania)
52 10 z wyjątkiem HID: prawy reflektor (światła mijania)
15 HID: Reflektor prawy (światła mijania)
53 10 Reflektor lewy (światła drogowe)
54 10 Reflektor prawy (światła drogowe)
55 10 z wyjątkiem 1WW: wielopunktowy system wtrysku paliwa/sekwencyjny wielopunktowy system wtrysku paliwa
7,5 1WW: Wentylator chłodzący, wielopunktowy układ wtrysku paliwa/sekwencyjny wielopunktowy układ wtrysku paliwa
56 10 z wyjątkiem 1WW: wielopunktowy system wtrysku paliwa/sekwencyjny wielopunktowy system wtrysku paliwa
15 1WW: Wielopunktowy system wtrysku paliwa/sekwencyjny wielopunktowy system wtrysku paliwa, system Stop & Start
57 7,5 System startowy
58 7,5 przed listopadem 2012 r.: Wieloportowy system wtrysku paliwa/sekwencyjny wieloportowy system wtrysku paliwa
30 od listopada 2012 r.: Wieloportowy system wtrysku paliwa/sekwencyjny wieloportowy system wtrysku paliwa
20 1WW: Wielopunktowy system wtrysku paliwa/sekwencyjny wielopunktowy system wtrysku paliwa
59
60 7,5 od listopada 2012 r.: Wieloportowy system wtrysku paliwa/sekwencyjny wieloportowy system wtrysku paliwa
61 5 1WW: Wentylator chłodzący
62 5 1WW: Wentylator chłodzący
Przekaźnik
R1 (przed listopadem 2012 r. (FR DEICER))
(przed listopadem 2012 (BRAKE LP))
Elektryczny wentylator chłodzący (od listopada 2012 r. (FAN №2))
R2 Elektryczny wentylator chłodzący (FAN №3)
R3 Czujnik stosunku powietrza do paliwa (A/F)
R4 (IGT/INJ)
R5
R6 Olej napędowy: (od listopada 2012 r. (GŁÓWNA EFI))
R7 Reflektor (H-LP)
Reklama

R8 Elektryczny wentylator chłodzący (FAN №1)
R9 Elektryczny wentylator chłodzący (przed listopadem 2012 r. (FAN №2))
R10 Opornik
R11
Zobacz także:  Toyota Prius (XW30) (2009-2015) - skrzynka bezpieczników i przekaźników

Skrzynka przekaźnikowa

Toyota Verso AR20 (2009-2017) - skrzynka bezpieczników i przekaźników

Numer Przekaźnik
R1
R2 HTR SUB №1
R3 HTR SUB №2
R4 HTR SUB №3

 

Przedział pasażerski

Ruch lewostronny

Toyota Verso AR20 (2009-2017) - skrzynka bezpieczników i przekaźników

Kierownica z prawej strony

Toyota Verso AR20 (2009-2017) - skrzynka bezpieczników i przekaźników

  1. Certyfikacja montaż ECU
  2. Skrzynka z kodami identyfikacyjnymi (z systemem wprowadzania i uruchamiania)
    Zespół ECU klucza transpondera (bez systemu wprowadzania i uruchamiania)
  3. Skrzynka bezpiecznikowa
  4. Główny korpus ECU
  5. Przekaźnik sterujący światłem stopu
  6. Zespół ECU poziomowania reflektorów
  7. Dodatkowa skrzynka bezpieczników
  8. Blok przyłączeniowy
  9. Zespół ECU wspomagania kierownicy
  10. ECU nawigacji
  11. Blok przyłączeniowy
  12. ECU sterowania zarządzaniem energią (LHD)
  13. Montaż ECU wspomagania jazdy
  14. Zespół przekaźnika wycieraczek przedniej szyby
  15. ECU zatrzymania i uruchomienia silnika
  16. Skrzynka przekaźnikowa 1
  17. Skrzynka przekaźnikowa 2
  18. Zespół ECU ostrzeżenia o odprawie
  19. Podzespół ECU sterowania blokadą zmiany biegów
  20. Zespół czujnika środkowej poduszki powietrznej
  21. ECU interfejsu multimedialnego
  22. Zespół wzmacniacza klimatyzacji
  23. Wzmacniacz klucza transpondera
  24. Zespół migacza kierunkowskazu (RHD)
  25. Zespół przekaźnika sterującego drzwiami z podwójną blokadą (od stycznia 2014 r. (RHD))
  26. Zespół przekaźnika sterującego drzwiami z podwójną blokadą (przed styczniem 2014 r. (RHD))
  1. ECU sterowania zarządzaniem energią (od stycznia 2014 r. (RHD))
  2. ECU sterowania zarządzaniem energią (przed styczniem 2014 r. (RHD))
Zobacz także:  Toyota Prius (XW50) (2015-2022) - skrzynka bezpieczników i przekaźników

 

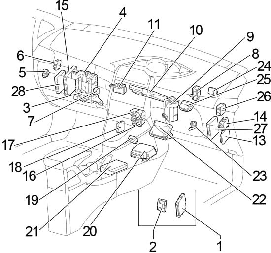
Schemat skrzynki bezpieczników w przedziale pasażerskim

Panel bezpieczników znajduje się pod lewą stroną deski rozdzielczej.

Kierownica z lewej strony: Zdejmij pokrywę.

Toyota Verso AR20 (2009-2017) - skrzynka bezpieczników i przekaźników

Kierownica z prawej strony: Zdejmij pokrywę i zdejmij pokrywę.

Toyota Verso AR20 (2009-2017) - skrzynka bezpieczników i przekaźników

Toyota Verso AR20 (2009-2017) - skrzynka bezpieczników i przekaźników

Numer Ampery [A] Opis
1 7,5 Tempomat (1ZR-FAE, 2ZR-FAE, 1AD-FTV, 2AD-FHV), CVT i wskaźnik zmiany biegów (2ZR-FAE), wskaźnik ECT i A/T (2AD-FHV), elektryczny system kontroli mocy (bez wejścia i System uruchamiania), sterowanie silnikiem (1ZR-FAE, 2ZR-FAE, 1AD-FTV, 2AD-FHV), uruchamianie (bez systemu wprowadzania i uruchamiania)
2 15 przed listopadem 2012 r.: przednie światło przeciwmgielne
7,5 od listopada 2012 r.: Przednie światło przeciwmgielne
3 7,5 System świateł do jazdy dziennej
4 25 Bezpieczniki „CIG”, „ACC”
5 25 Automatyczne sterowanie światłem, mechanizm otwierania tylnych drzwi, licznik kombinacji, kontrola zamka drzwi, podwójna blokada, system immobilizera silnika (z systemem wprowadzania i uruchamiania), system wprowadzania i uruchamiania, przednie światło przeciwmgielne, reflektor, środek do czyszczenia reflektorów, oświetlenie, oświetlenie wewnętrzne, przypomnienie o kluczyku (bez systemu wjazdu i startu), system automatycznego wyłączania światła, przypomnienie o świetle, okno elektryczne, tylne światło przeciwmgielne, osłona przeciwsłoneczna na dachu, ostrzeżenie o pasach bezpieczeństwa, uruchamianie (z systemem wjazdu i startu), blokada układu kierowniczego (z systemem wjazdu i startu), System Stop & Start, tylne światło, zabezpieczenie przed kradzieżą, bezprzewodowa kontrola zamka drzwi
6 20 Osłona przeciwsłoneczna na dachu
7 10 ABS, tempomat, CVT i wskaźnik zmiany biegów (2ZR-FAE), wskaźnik ECT i A/T (2AD-FHV), system kontroli mocy elektrycznej (z systemem wprowadzania i ruszania), wspomaganie ruszania pod górę, blokada zmiany biegów, światło stopu , TRC, VSC
8 7,5 System diagnostyki pokładowej
9 10 Klimatyzator, system audio (od listopada 2011), mechanizm otwierania tylnych drzwi (z systemem wprowadzania i uruchamiania), oświetlenie cofania, ładowanie, tempomat, CVT i wskaźnik zmiany biegów (2ZR-FAE), ECT i wskaźnik A/T ( 2AD-FHV), sterowanie silnikiem, system immobilizera silnika, system wprowadzania i uruchamiania, ogrzewanie, ogrzewanie lusterek, system nawigacji (od listopada 2011), asystent parkowania (monitor widoku z tyłu), asystent parkowania ( czujnik wspomagania parkowania TOYOTA), Odmgławiacz szyby tylnej, ostrzeżenie o pasach bezpieczeństwa, SRS, uruchamianie (z systemem wjazdu i startu), blokada układu kierowniczego (z systemem wjazdu i startu), zabezpieczenie przed kradzieżą, kierunkowskaz i światło ostrzegawcze, bezprzewodowa kontrola zamka drzwi (z systemem wjazdu i startu)
10 10 ABS, automatyczne sterowanie oświetleniem, otwieranie tylnych drzwi, licznik kombinacji, wentylator chłodzący, tempomat (1AD-FTV, 2AD-FHV, 1ZR-FAE, 2ZR-FAE), CVT i wskaźnik zmiany biegów (2ZR-FAE), kontrola zamka drzwi, Podwójna blokada, wskaźnik ECT i A/T (2AD-FHV), sterowanie silnikiem (1AD-FTV, 2AD-FHV, 1ZR-FAE, 2ZR-FAE), system immobilizera silnika (z systemem wprowadzania i uruchamiania), system wprowadzania i uruchamiania, EPS, Przednie światło przeciwmgielne, Reflektor, Kontrola poziomu świateł przednich (automatyczna), Środek do czyszczenia reflektorów, Kontrola wspomagania ruszania pod górę, Oświetlenie, Oświetlenie wnętrza, Przypomnienie o kluczyku (bez systemu wjazdu i startu), System automatycznego wyłączania światła, Przypomnienie o świetle, Okno elektryczne, tylne światło przeciwmgielne, osłona przeciwsłoneczna na dachu, Ostrzeżenie o pasach bezpieczeństwa, blokada zmiany biegów, uruchamianie (z systemem wjazdu i startu), blokada układu kierowniczego (z systemem wjazdu i startu), światło stopu, tylne światło, zabezpieczenie przed kradzieżą, system ostrzegania o ciśnieniu w oponach, TRC, VSC, bezprzewodowa kontrola zamka drzwi
11 15 Przednia wycieraczka i spryskiwacz, tylna wycieraczka i spryskiwacz
12 15 Tylna wycieraczka i spryskiwacz
13 25 Przednia wycieraczka i spryskiwacz
14 10 Klimatyzator, tempomat (1WW), sterowanie silnikiem (1WW), ogrzewanie, ogrzewanie lusterek, ogrzewanie elektryczne, odmgławiacz tylnej szyby, system Stop & Start
15 15 Podgrzewacz siedzeń
16 7,5 ABS, klimatyzacja, system audio (od listopada 2011), mechanizm otwierania tylnych drzwi, ładowanie, licznik kombinowany, wentylator chłodzący, tempomat (1AD-FTV, 2AD-FHV, 1ZR-FAE, 2ZR-FAE), CVT i wskaźnik zmiany biegów (2ZR-FAE), sterowanie zamkiem drzwi, wskaźnik ECT i A/T (2AD-FHV), elektryczny system sterowania mocą (z systemem wprowadzania i uruchamiania), sterowanie silnikiem (1AD-FTV, 2AD-FHV, 1ZR-FAE, 2ZR -FAE), system immobilizera silnika (z systemem wprowadzania i uruchamiania), system wprowadzania i uruchamiania, EPS, przednie światło przeciwmgielne, reflektor, kontrola poziomu świateł przednich (automatyczna), ogrzewanie, wspomaganie ruszania pod górę, oświetlenie, światło wewnętrzne, kluczyk Przypomnienie (bez systemu wjazdu i startu), przypomnienie o świetle, system nawigacji (od listopada 2011), asystent parkowania (monitor widoku z tyłu (od listopada 2011)), asystent parkowania ( czujnik wspomagania parkowania TOYOTA), tylne światło przeciwmgielne, System ostrzegania o pasach, SRS, system uruchamiania (z systemem wjazdu i startu), blokada układu kierowniczego (z systemem wjazdu i startu), system stopu i startu, tylne światło, zabezpieczenie przed kradzieżą, system ostrzegania o ciśnieniu w oponach, TRC, VSC, bezprzewodowa kontrola zamka drzwi (z systemem wjazdu & Uruchom system)
17 7,5 ABS (z VSC), mechanizm otwierania tylnych drzwi (z systemem wjazdu i startu), tempomat, CVT i wskaźnik zmiany biegów (2ZR-FAE), wskaźnik ECT i A/T (2AD-FHV), elektryczny system kontroli mocy (bez wjazdu i Start System), sterowanie silnikiem, system immobilizera silnika, system wprowadzania i uruchamiania, kontrola wspomagania ruszania pod górę, SRS, system uruchamiania (z systemem wprowadzania i uruchamiania), blokada układu kierowniczego (z systemem wprowadzania i uruchamiania), światło stopu, TRC, VSC, Bezprzewodowa kontrola zamka drzwi (z systemem wprowadzania i uruchamiania)
18 7,5 Tylne światło przeciwmgielne
19
Reklama

20
21 10 Tempomat (1WW, 1ZR-FAE, 2ZR-FAE), CVT i wskaźnik zmiany biegów (2ZR-FAE), sterowanie silnikiem (1WW, 1ZR-FAE, 2ZR-FAE), ogrzewanie lusterek, odmgławiacz tylnej szyby
22
23 7,5 System audio (od listopada 2011), automatyczne sterowanie oświetleniem, mechanizm otwierania tylnych drzwi, zapalniczka, licznik kombinacji, kontrola zamka drzwi, podwójna blokada, system immobilizera silnika (z systemem wprowadzania i uruchamiania), system wprowadzania i uruchamiania, przednie światło przeciwmgielne, Reflektor, środek do czyszczenia reflektorów, oświetlenie, oświetlenie wnętrza, przypomnienie o kluczyku (bez systemu wjazdu i startu), system automatycznego wyłączania światła, przypomnienie o świetle, system nawigacji (od listopada 2011), asystent parkowania (monitor widoku z tyłu (od listopada 2011) ), gniazdo zasilania, okno zasilania, tylne światło przeciwmgielne, lusterko zdalnego sterowania, osłona przeciwsłoneczna na dachu, ostrzeżenie o pasach bezpieczeństwa, blokada zmiany biegów, uruchamianie (z systemem wjazdu i startu), blokada układu kierowniczego (z systemem wjazdu i startu), system stopu i startu, Światło tylne, zabezpieczenie przed kradzieżą, bezprzewodowa kontrola zamka drzwi
24 15 Zapalniczka
25
26 20 Tylne prawe okno zasilania
27 20 Tylne lewe okno zasilania
28 20 Przednie prawe okno zasilania
29 10 System audio (od listopada 2011 r.), automatyczne, odporne na odblask lusterko EC, mechanizm otwierania tylnych drzwi (z systemem wjazdu i startu), system immobilizera silnika (z systemem wjazdu i startu), system wjazdu i startu, system nawigacji (od listopada 2011 r.) ), asystent parkowania (monitor cofania), osłona przeciwsłoneczna na dachu, system uruchamiania (z systemem wjazdu i startu), blokada kierownicy (z systemem wjazdu i startu), system Stop & Start, bezprzewodowa kontrola zamka drzwi (z systemem wjazdu i startu)
30 7,5 Oświetlenie, asystent parkowania ( czujnik wspomagania parkowania TOYOTA)
31 10 Tempomat (1WW, 1ZR-FAE, 2ZR-FAE), CVT i wskaźnik zmiany biegów (2ZR-FAE), sterowanie silnikiem (1WW, 1ZR-FAE, 2ZR-FAE), przednie światło przeciwmgielne, kontrola poziomu reflektorów (ręczna), Oświetlenie, wspomaganie parkowania (czujnik wspomagania parkowania TOYOTA), tylne światło przeciwmgielne, tylne światło
Zobacz także:  Toyota Porte, Sienta, Will Cypha Vi (2002-2007) - skrzynka bezpieczników i przekaźników

Kierownica z lewej strony: Zdemontuj górne tablice rozdzielcze i zdemontuj dolną tablicę rozdzielczą.

Toyota Verso AR20 (2009-2017) - skrzynka bezpieczników i przekaźników

Toyota Verso AR20 (2009-2017) - skrzynka bezpieczników i przekaźników

Kierownica z prawej strony: Otwórz schowek, zsuń amortyzator, podnieś schowek, aby odłączyć pazury na dole i wyjmij go.

Toyota Verso AR20 (2009-2017) - skrzynka bezpieczników i przekaźników

Toyota Verso AR20 (2009-2017) - skrzynka bezpieczników i przekaźników

Toyota Verso AR20 (2009-2017) - skrzynka bezpieczników i przekaźników

Numer Ampery [A] Opis
1 30 Przednie lewe okno zasilania
2 30 Odmgławiacz tylnej szyby, bezpiecznik „MIR HTR”
3
Przekaźnik
R1 Zapłon (IG1)
R2 Krótki pin (automatyczna klimatyzacja)
Grzałka (HTR (z wyjątkiem automatycznej klimatyzacji))
R3 LHD: migacz kierunkowskazów

 

Dodatkowa skrzynka bezpieczników

Toyota Verso AR20 (2009-2017) - skrzynka bezpieczników i przekaźników

Numer Ampery [A] Opis
1 7,5 System ładowania, tempomat (1ZR-FAE, 2ZR-FAE), CVT i wskaźnik zmiany biegów (2ZR-FAE), elektryczny system sterowania mocą, sterowanie silnikiem (1ZR-FAE, 2ZR-FAE)
2

Skrzynka przekaźnikowa 1

Toyota Verso AR20 (2009-2017) - skrzynka bezpieczników i przekaźników

Numer Przekaźnik
R1 Przednie światło przeciwmgielne (FR FOG)
R2 Akcesoria (ACC)
R3 System świateł do jazdy dziennej (DRL)
R4 Panel (PANEL)

Skrzynka przekaźnikowa 2

Toyota Verso AR20 (2009-2017) - skrzynka bezpieczników i przekaźników

Numer Przekaźnik
R1 Rozrusznik (ST)
R2 Tylne światło przeciwmgielne (RR FOG)
R3 Gniazdo zasilania (GNIAZDO ACC)
R4 Oświetlenie wewnętrzne (DOME LAMP CUT)

Jakub Wojciechowski

Jakub Wojciechowski

Czy ten wpis był przydatny?

Wybierz gwiazdkę, aby ocenić wpis!

Średnia ocen 3.8 / 5. Liczba ocen: 4

Brak ocen. Bądź pierwszą osobą - zostaw opinię!

Dodaj komentarz

Twój adres e-mail nie zostanie opublikowany. Wymagane pola są oznaczone *

Kategorie

Wszystkie prawa zastrzeżone ©2024 Schematy24