schematy24 logo header

Toyota Celica (1999-2005) – skrzynka bezpieczników i przekaźników

Toyota Celica (1999-2005) - skrzynka bezpieczników i przekaźników

Schemat skrzynek bezpieczników i przekaźników – Toyota Celica

Dotyczy pojazdów nowych w latach:

1999, 2000, 2001, 2002, 2003, 2004, 2005.

 

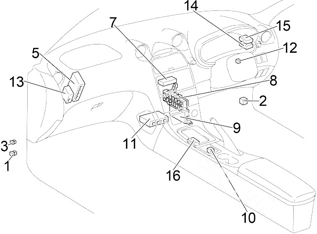
Przedział pasażerski

Ruch lewostronny

Toyota Celica (1999-2005) - skrzynka bezpieczników i przekaźników

Kierownica z prawej strony

Toyota Celica (1999-2005) - skrzynka bezpieczników i przekaźników

  1. Przekaźnik tylnego światła przeciwmgielnego
  2. Przekaźnik kierunkowskazów kierunkowskazów
  3. Przekaźnik przednich świateł przeciwmgielnych
  4. 2002-2005: ECU kontroli poziomu świateł przednich
  5. 2002-2005: ECU kontroli poślizgu (z VSC)
  6. 1999-2002 (LHD): ABS ECU
  7. Zespół sterowania klimatyzacją
  8. Skrzynka bezpiecznikowa
  9. ECU nadwozia
  10. 2002-2005: Przekaźnik podgrzewania siedzenia
  11. Zespół czujnika środkowej poduszki powietrznej
  12. Wzmacniacz klucza transpondera
  13. 2002-2005 (Australia): ECU kontroli poziomu reflektorów
    1999-2002 (RHD): ABS ECU
  14. 2002-2005 (RHD): ECU kontroli poziomu świateł przednich
  15. 2002-2005 (Australia): ECU tempomatu
  16. 2002-2005 (Australia): ECU sterowania blokadą zmiany biegów

 

Schemat skrzynki bezpieczników w przedziale pasażerskim

Panel bezpieczników znajduje się za pokrywą konsoli środkowej po stronie pasażera.

Toyota Celica (1999-2005) - skrzynka bezpieczników i przekaźników

Toyota Celica (1999-2005) - skrzynka bezpieczników i przekaźników

Numer Ampery [A] Opis
1 15 Elektryczny szyberdach
2 20 Okna elektryczne
3 10 Światła stopu, układ przeciwblokujący, wysoko zamontowane światło stopu, wielopunktowy układ wtrysku paliwa/sekwencyjny wielopunktowy układ wtrysku paliwa, elektronicznie sterowany układ automatycznej skrzyni biegów, tempomat
4 7,5 System poduszek powietrznych SRS
Reklama

5 15 Spryskiwacz przedniej szyby, spryskiwacz tylnej szyby
6 15 System nagłośnieniowy
7 7,5 Włącz światła sygnalizacyjne
8 10 System klimatyzacji
9 10 Światła tylne, oświetlenie tablicy przyrządów, oświetlenie tablicy rejestracyjnej, światła producenta z przodu;
10 15 Zapalniczka
11 25 System startowy, „CIG”, „ECU ACC”, „SRS-IG”, „WASHER”, „WIPER”, „BK/UP LP”, „TENS RDC”, „DEF RLY”, „BODY ECU-IG”, Bezpieczniki „TURN”, „HTR”, „WARNING”, „FAN RLY”, „ABS-IG” i „ECU-IG”
12 20 System zamka drzwi zasilania
13 15 Przednie światła przeciwmgielne
14 7,5 System diagnostyki pokładowej
15 25 Wycieraczki
16 10 Grzałka lustrzana
17 15 Wycieraczka tylnej szyby
18 20 Okna elektryczne
19 30 Odmgławiacz tylnej szyby
A1 7,5 Bezprzewodowy system zdalnego sterowania
A2 7,5 Tylne światło przeciwmgielne
A3 7,5 Zegar, oświetlenie wewnętrzne
A4 7,5 System klimatyzacji, wskaźniki i mierniki
B1 5 System ładowania, wskaźniki i mierniki
Reklama

B2 5 System tempomatu
B3 5 Układ przeciwblokujący
B4 5 Elektryczny wentylator chłodzący
C1 7,5 Oświetlenie schowka na rękawiczki, oświetlenie tablicy przyrządów
C2 7,5 Przednie światła przeciwmgielne, oświetlenie tablicy przyrządów, oświetlenie zestawu wskaźników
C3 7,5 Zegar, system audio, sterowanie lusterkiem wstecznym, zasilanie anteny
C4
D1 5 Światła awaryjne
D2 5 Elektryczne szyby, odmgławiacz tylnej szyby
D3 5 Multipleksowy system komunikacji
D4 5 Elektronicznie sterowana automatyczna skrzynia biegów, system sterowania blokadą zmiany biegów, elektryczny szyberdach, antena mocy
Przekaźnik
R1 Zapłon (IG1)
R2 Światło tylne (OGON)
R3 Ogrzewanie lusterek (MIR HTR)
Reklama

R4 Odmgławiacz tylnej szyby (DEF)
Zobacz także:  Toyota 4Runner N280 (2010-2012) - skrzynka bezpieczników i przekaźników

Toyota Celica (1999-2005) - skrzynka bezpieczników i przekaźników

  1. Przekaźnik kontroli szyberdachu i silnik
  2. Silnik i przekaźnik tylnej wycieraczki
  3. Odbiornik kontroli drzwi

Komora silnika

Toyota Celica (1999-2005) - skrzynka bezpieczników i przekaźników

  1. Skrzynka bezpiecznikowa
  2. Skrzynka przekaźnikowa 1
  3. 2002-2005: Przekaźnik pompy powietrza
  4. 2002-2005: Przekaźnik czyszczenia reflektorów
  5. ECU silnika (M/T) lub ECU silnika i ECT (A/T)
  6. 2002-2005: ABS & TRC & VSC Siłownik (z VSC)
    2002-2005: Kontrola poślizgu ECU z siłownikiem (bez VSC)
  7. 2002-2005 :  Skrzynka przekaźników 2
Zobacz także:  Toyota Highlander XU40 (2011-2013) - skrzynka bezpieczników i przekaźników

 

Schemat skrzynki bezpieczników w komorze silnika

Toyota Celica (1999-2005) - skrzynka bezpieczników i przekaźników

Toyota Celica (1999-2005) - skrzynka bezpieczników i przekaźników

Numer Ampery [A] Opis
1 20 2002-2005:  Podgrzewacz siedzeń
15 USA: Antena mocy
2 10 Reflektor lewy (światło drogowe)
3 20 Reflektor prawy (światło drogowe) (HEAD RH UPR DRL №2)
4 7,5 System świateł do jazdy dziennej, system kontroli poziomu świateł przednich
7,5 System świateł do jazdy dziennej
5 10 1999-2002: Reflektor prawy (światło mijania)
15 2002-2005: Reflektor prawy (światło mijania)
6 10 1999-2002: Reflektor lewy (światło mijania)
15 2002-2005: Reflektor lewy (światło mijania)
7 25 Układ przeciwblokujący
8
9
10 10 Klakson
11 7,5 System ładowania
12
13 10 Wieloportowy układ wtrysku paliwa/sekwencyjny wielopunktowy układ wtrysku paliwa
7,5 Wieloportowy układ wtrysku paliwa/sekwencyjny wielopunktowy układ wtrysku paliwa
Reklama

14 25 Bezpieczniki „RADIO”, „KOPUŁKA”, „MPX-B” i „ECU-B”
15
16 7,5 Wielopunktowy układ wtrysku paliwa/sekwencyjny wielopunktowy układ wtrysku paliwa, układ kontroli emisji
10 Wielopunktowy układ wtrysku paliwa/sekwencyjny wielopunktowy układ wtrysku paliwa, układ kontroli emisji
17 20 Wielopunktowy układ wtrysku paliwa/sekwencyjny wielopunktowy układ wtrysku paliwa, bezpieczniki „EFI №1” i „EFI №2”
15 Europa 2ZZ-GE: wielopunktowy układ wtrysku paliwa/sekwencyjny wielopunktowy układ wtrysku paliwa, bezpieczniki „EFI №1” i „EFI №2”
18 7,5 Układ rozruchowy, wielopunktowy układ wtrysku paliwa/sekwencyjny wielopunktowy układ wtrysku paliwa;
19 7,5 System startowy
20 15 Układ rozruchowy, wielopunktowy układ wtrysku paliwa/sekwencyjny wielopunktowy układ wtrysku paliwa;
21 15 Sygnalizatory awaryjne
10 Australia, USA: Sygnalizatory awaryjne
22 50 System klimatyzacji
23 30 Elektryczny wentylator chłodzący
24 40 ’99-’02: Układ przeciwblokujący
50 02-2005: Układ przeciwblokujący
25 30 Elektryczny wentylator chłodzący
26 40 Układ rozruchowy, układ świateł do jazdy dziennej, bezpiecznik „ST”
50 Europa 2ZZ-GE: system rozruchowy, system świateł do jazdy dziennej, bezpiecznik „ST”
27 120 Układ chłodzenia, wentylator elektryczny, układ rozruchowy, odmgławiacz tylnej szyby, tylne światła, „ABS №1”, „ABS №2”, „HTR”, „FR P/W”, „FL P/W”, „DOOR” , bezpieczniki „OBD”, „STOP”, „S/ROOF”, „MIR HTR”, „FR FOG” i „AM1”
Przekaźnik
R1 Klakson
R2 Reflektor (HEAD)
R3 Otwarcie obwodu (pompa paliwa (C/OPN))
R4 Jednostka sterująca silnika (EFI)
R5 Elektryczny wentylator chłodzący (FAN №1)
R6 Zapłon (IG2)
R7 Elektryczny wentylator chłodzący (FAN №2)
R8 Elektryczny wentylator chłodzący (FAN №3)
R9 Sprzęgło sprężarki klimatyzacji (MG/C)
Zobacz także:  Toyota FJ Cruiser (2006-2007) - skrzynka bezpieczników i przekaźników

Toyota Celica (1999-2005) - skrzynka bezpieczników i przekaźników

Numer Ampery [A] Opis
Reklama

28 10 Elektroniczny system sterowania przepustnicą
29 50 System kontroli emisji
30 30 Środek do czyszczenia reflektorów
50 Środek do czyszczenia reflektorów
Przekaźnik
R10 Rozrusznik (ST)
R11 Podgrzewacz (HTR)
R12 Układ przeciwblokujący (ABS SOL)
R13 Układ przeciwblokujący (ABS MTR)

 

Skrzynka przekaźnikowa 1

Ford Transit Courier

Toyota Celica (1999-2005) - skrzynka bezpieczników i przekaźników

Numer Ampery [A] Opis
1 10 Reflektor lewy (światło drogowe)
2 10 Reflektor prawy (światło drogowe), system świateł do jazdy dziennej
Przekaźnik
R1
R2
R3 System świateł do jazdy dziennej (DRL №2 DIMMER)

Skrzynka przekaźnikowa 2

Toyota Celica (1999-2005) - skrzynka bezpieczników i przekaźników

Numer Bezpiecznik Ampery [A] Opis
1 VSC 7,5
Przekaźnik
R1 (VSC MTR)
R2 (CIĘCIE MTR)
R3 (VSC SOL)

 

Jakub Wojciechowski

Jakub Wojciechowski

Czy ten wpis był przydatny?

Wybierz gwiazdkę, aby ocenić wpis!

Średnia ocen 0 / 5. Liczba ocen: 0

Brak ocen. Bądź pierwszą osobą - zostaw opinię!

Brak komentarzy.

Dodaj komentarz

Twój adres email nie zostanie opublikowany. Wymagane pola są oznaczone *

Kategorie

Wszystkie prawa zastrzeżone ©2024 Schematy24