schematy24 logo header

Honda Insight (2000-2006) – skrzynka bezpieczników i przekaźników

Schematy skrzynek bezpieczników i przekaźników – Honda Insight

Dotyczy pojazdów wyprodukowanych w latach:

2000, 2001, 2002, 2003, 2004, 2005, 2006.

 

Bezpiecznik zapalniczki (gniazda zasilania) w Honda Insight to bezpiecznik nr 12 w skrzynce bezpieczników tablicy rozdzielczej.

 

Przedział pasażerski

Honda Insight (2000-2006) - skrzynka bezpieczników i przekaźników

  1. Skrzynka bezpiecznikowa
  2. Jednostka sterująca światłami do jazdy dziennej (DRL)
  3. Przekaźnik świateł do jazdy dziennej (DRL) Przekaźnik
    odcięcia świateł mijania
  4. 2002-2006  Przekaźnik czujnika stosunku paliwa do powietrza (A/F)
  5. Przekaźnik główny PGM-FI Przekaźnik
    odwrotny
  6. Jednostka dodatkowego systemu przytrzymującego (SRS)
  7. Bezkluczykowa jednostka sterująca zamkiem drzwi

 

Honda Insight (2000-2006) - skrzynka bezpieczników i przekaźników

  1. Klimatyzator lub panel sterowania nagrzewnicą
  2. Jednostka audio
  3. Moduł sterujący silnika (ECM)
  4. Przekaźnik wysokiego poziomu silnika dmuchawy
  5. CVT: Przekaźnik silnika elektronicznego wspomagania kierownicy (EPS)
  6. M/T: Jednostka sterująca elektronicznego wspomagania układu kierowniczego (EPS)
    CVT: Moduł sterujący skrzyni biegów (TCM)
  7. M/T: Przekaźnik silnika elektronicznego wspomagania kierownicy (EPS)
  8. CVT: Jednostka sterująca elektronicznego wspomagania kierownicy (EPS)
  9. Jednostka odbiornika immobilizera

 

Schemat skrzynki bezpieczników tablicy rozdzielczej

Bezpiecznik wewnętrzny znajduje się pod deską rozdzielczą po stronie kierowcy. Wyjmij kieszeń do przechowywania, odchylając pokrywę w dół, podnosząc i wyciągając ją prosto z zawiasów.

Honda Insight (2000-2006) - skrzynka bezpieczników i przekaźników

Honda Insight (2000-2006) - skrzynka bezpieczników i przekaźników

Numer Ampery [A] Opis
1 10 Jednostka dodatkowego systemu przytrzymującego (SRS)
2 15 Pompa paliwa, jednostka dodatkowego układu przytrzymującego (SRS)
3 20 Silnik spryskiwacza przedniej szyby, silnik wycieraczki przedniej szyby, przekaźnik przerywany wycieraczki przedniej szyby
4 7,5 Przetwornik DC-DC, moduł detektora obciążenia elektrycznego (ELD), zawór odcinający odpowietrzania kanistra (EVAP), zawór elektromagnetyczny kontroli oczyszczania EVAP, wtórny podgrzewany czujnik tlenu (HO2S), czujnik prędkości pojazdu (VSS), moduł sterowania skrzyni biegów (TCM) )
Reklama

5 7,5 Włącz światła sygnalizacyjne, kierunkowskaz/przekaźnik zagrożenia
6 7,5 Elektroniczna jednostka sterująca wspomagania kierownicy (EPS), zespół wskaźników, jednostka sterująca bezkluczykowym zamkiem drzwi, jednostka sterująca okna elektrycznego (główny przełącznik okna elektrycznego), przekaźnik okna zasilania, elektromagnes blokady zmiany biegów
7 15 Cewki zapłonowe
8 20 Silnik szyby pasażera
9 7,5 Moduł sterujący silnika (ECM), przekaźnik odcinania rozrusznika
10 20 Jednostka sterująca okna elektrycznego (wyłącznik główny okna elektrycznego), silnik okna elektrycznego kierowcy
11 7,5 Jednostka audio
12 10 Gniazdo zasilania akcesoriów
13  –
14 20 2002-2006: Czujnik stosunku paliwa do powietrza (A/F), moduł sterujący silnika (ECM) (przekaźnik czujnika stosunku paliwa do powietrza (A/F))
15 10 Jednostka audio, jednostka kontroli klimatu/światła panelu sterowania ogrzewaniem, światła na desce rozdzielczej, światła wskaźników, przednie światła postojowe, przednie światła obrysowe boczne, oświetlenie tablicy rejestracyjnej, światła tylne
16 7,5 Modulator-sterownik ABS, przekaźnik sprzęgła sprężarki klimatyzacji, przekaźnik silnika dmuchawy. Przekaźnik wysokiego poziomu silnika dmuchawy, jednostka klimatyzacji/panel sterowania nagrzewnicą, przekaźnik wentylatora skraplacza klimatyzacji, przekaźnik sterowania wentylatorem, silnik sterowania trybem, przekaźnik wentylatora chłodnicy, przekaźnik odmgławiacza tylnej szyby, silnik sterowania recyrkulacją
17 7,5 Jednostka sterująca światłami do jazdy dziennej (DRL)
18 7,5 Moduł monitora stanu akumulatora (BCM), zespół klimatyzacji/panel sterowania ogrzewaniem, złącze łącza danych (DLC), moduł sterowania silnikiem (ECM), zespół wskaźnika, moduł sterowania silnikiem (MCM)
19 7,5 Oświetlenie przestrzeni ładunkowej, oświetlenie sufitowe/reflektory
20 10 Jednostka audio
21 10 Jednostka sterująca światłami do jazdy dziennej (DRL)
22 20 Bezkluczykowa jednostka sterująca zamkiem drzwi
23 7,5 Przekaźnik otwierania włazu, siłownik otwierania włazu
24 7,5 Wentylator modułu akumulatora, przekaźnik sterowania wentylatorem modułu akumulatora o dużej prędkości, przekaźnik wstrzymania zapłonu, przekaźnik sterowania wentylatorem modułu akumulatora o niskiej prędkości, moduł sterowania silnikiem (MCM)
Reklama

25  –
26 10 Silnik spryskiwacza tylnej szyby, silnik wycieraczki tylnej szyby
27 7,5 Światła awaryjne, przekaźnik cofania (CVT)
28  –
Przekaźnik
R1 Światła tylne
R2 Cięcie startowe
R3 Zasilanie okna
R4 Kierunkowskazy i światła awaryjne
Zobacz także:  Honda Fit (Jazz) (2020-2022) - skrzynka bezpieczników i przekaźników

Komora silnika

Honda Insight (2000-2006) - skrzynka bezpieczników i przekaźników

  1. Skrzynka bezpiecznikowa
  2. Skrzynka przekaźnikowa
  3. Modulator ABS-jednostka sterująca

 

Schemat skrzynki bezpieczników w komorze silnika

Skrzynka bezpieczników pod maską znajduje się w komorze silnika. Aby go otworzyć, naciśnij zakładkę, jak pokazano.

Honda Insight (2000-2006) - skrzynka bezpieczników i przekaźników

Honda Insight (2000-2006) - skrzynka bezpieczników i przekaźników

Numer Ampery [A] Opis
1 50 Przełącznik zapłonu (BAT)
2 80 Akumulator, dystrybucja zasilania
3 30 Modulator ABS-jednostka sterująca
4 10 Kierunkowskaz/przekaźnik zagrożenia, kierunkowskaz światła
5 15 Moduł inwertera mocy silnika o niskiej prędkości (MPI) Przekaźnik sterowania wentylatorem, Moduł inwertera mocy silnika o dużej prędkości (MPI) Przekaźnik sterowania wentylatora, Silnik wentylatora PDU
Reklama

6 10 Moduł sterujący modulatora ABS, moduł sterujący silnika (ECM), wysoko zamontowane światło hamowania, tylne światła
7 15 Przekaźnik główny PGM-FI (IGP), elektromagnes blokady klucza (CVT)
8 15 Lewy reflektor, lampka kontrolna świateł drogowych, jednostka sterująca światłami do jazdy dziennej
9  –
10 15 Prawy reflektor, jednostka sterująca światłami do jazdy dziennej
11 30 Silnik wentylatora chłodnicy
12 40 Silnik dmuchawy
13 30 Odmgławiacz tylnej szyby, skraplacz szumów
14 20 Modulator ABS-jednostka sterująca
15 40 Elektroniczny układ wspomagania kierownicy (EPS)
16 30 Przekaźnik świateł tylnych, bezpiecznik (skrzynka bezpieczników w przedziale pasażerskim): nr 14, 18, 19, 20, 21, 22, 23
17 40 Przekaźnik okna zasilania, bezpiecznik (skrzynka bezpieczników w przedziale pasażerskim): № 8, 10
18 7,5 Moduł monitora stanu akumulatora (BCM), stycznik wysokiego napięcia, moduł sterowania silnikiem (MCM), moduł konwertera napięcia
19 20 Silnik wentylatora skraplacza klimatyzacji, sprzęgło sprężarki klimatyzacji
Przekaźnik
R1 Sprzęgło sprężarki klimatyzacji
R2 Wentylator chłodnicy
R3 Wentylator skraplacza klimatyzacji
R4 Silnik dmuchawy
R5 Klakson
Reklama

R6 Reflektor №2
R7 Reflektor №1

Skrzynka przekaźników komory silnika

Honda Insight (2000-2006) - skrzynka bezpieczników i przekaźników

Numer Przekaźnik
R1 Odmgławiacz tylnej szyby
R2 PGM-FI Główny №2 (Pompa Paliwa)
R3 Sterowanie wentylatorem
R4 Przerywana wycieraczka przedniej szyby

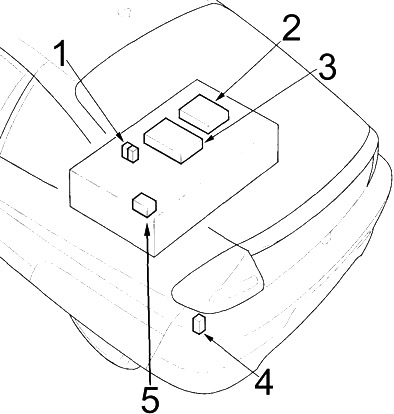
Skrzynka przekaźników bagażnika

Honda Insight (2000-2006) - skrzynka bezpieczników i przekaźników

  1. Przekaźnik szybkiego modułu akumulatorowego Przekaźnik sterowania wentylatorem modułu akumulatorowego o niskiej prędkości
  2. Moduł sterowania silnikiem (MCM)
  3. Moduł monitorowania stanu akumulatora (BCM)
  4. Przekaźnik otwierania włazu
  5. Skrzynka przekaźnikowa
Zobacz także:  Honda Fit (Jazz) GE (2009-2014) - skrzynka bezpieczników i przekaźników

 

Honda Insight (2000-2006) - skrzynka bezpieczników i przekaźników

Numer Przekaźnik
R1 Przekaźnik sterujący stycznikiem wysokiego napięcia
R2 Przekaźnik sterowania wentylatorem modułu inwertera mocy silnika o niskiej prędkości (MPI)
R3 Moduł szybkiego przemiennika mocy silnika (MPI) Przekaźnik sterowania wentylatorem
R4 Wstrzymanie zapłonu

 

Jakub Wojciechowski

Jakub Wojciechowski

Czy ten wpis był przydatny?

Wybierz gwiazdkę, aby ocenić wpis!

Średnia ocen 0 / 5. Liczba ocen: 0

Brak ocen. Bądź pierwszą osobą - zostaw opinię!

Brak komentarzy.

Dodaj komentarz

Twój adres e-mail nie zostanie opublikowany. Wymagane pola są oznaczone *

Kategorie

Wszystkie prawa zastrzeżone ©2024 Schematy24