schematy24 logo header

Honda Element (2003-2011) – skrzynka bezpieczników i przekaźników

Honda Element (2003-2011) - skrzynka bezpieczników i przekaźników

Schematy skrzynek bezpieczników i przekaźników – Honda Element

Dotyczy pojazdów wyprodukowanych w latach:

2003, 2004, 2005, 2006, 2007, 2008, 2009, 2010, 2011.

 

Za zapalniczkę (gniazda zasilania) odpowiada bezpieczniki 2 (gniazdo zasilania akcesoriów tylnych) i 18 (gniazdo zasilania akcesoriów przednich) w skrzynce bezpieczników tablicy przyrządów.

 

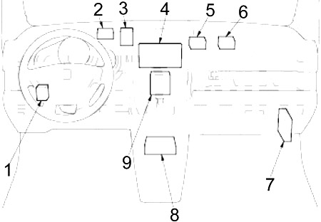
Przedział pasażerski

Honda Element (2003-2011) - skrzynka bezpieczników i przekaźników

  1. Jednostka sterująca światłami do jazdy dziennej
  2. Przekaźnik odcinania świateł mijania
  3. Przekaźnik świateł do jazdy dziennej
  4. Skrzynka bezpiecznikowa

 

Honda Element (2003-2011) - skrzynka bezpieczników i przekaźników

  1. Odbiornik bezkluczykowy
  2. 2008: Jednostka sterująca systemu monitorowania ciśnienia w oponach (TPMS)
  3. 2009-2011: Jednostka sterująca systemu monitorowania ciśnienia w oponach (TPMS)
  4. Jednostka audio lub jednostka audio/nawigacyjna
  5. 2009-2011: Jednostka Imoes
  6. 2008: Jednostka Imoes
  7. Wzmacniacz dźwięku
  8. Jednostka dodatkowego systemu przytrzymującego (SRS)
  9. 2009-2011: Jednostka sterująca adaptera USB

 

Honda Element (2003-2011) - skrzynka bezpieczników i przekaźników

  1. 2007-2008: Główny przekaźnik PGM-FI nr 2 (pompa paliwa)
  2. Przekaźnik gniazda zasilania tylnych akcesoriów
  3. M/T: Moduł sterujący silnika (ECM)
    A/T: Moduł sterujący układu napędowego (PCM)
  4. Przekaźnik czujnika stosunku paliwa do powietrza (A/F)
  5. 2007-2008: Przekaźnik cewki zapłonowej
    2009-2011: Przekaźnik główny PGM-FI nr 2 (pompa paliwa)
  6. Przekaźnik zwrotny A/T
  7. 2007-2011: Przekaźnik modułu sterującego siłownika przepustnicy
  8. 2007-2008: Główny przekaźnik PGM-FI nr 1
    2009-2011: Przekaźnik cewki zapłonowej
  9. Jednostka sterująca immobilizera (odbiornik)
  10. 2009-2011: Główny przekaźnik PGM-FI nr 1

 

Schemat skrzynki bezpieczników tablicy rozdzielczej

Wewnętrzna skrzynka bezpieczników znajduje się pod kolumną kierownicy. Aby zdjąć pokrywę skrzynki bezpieczników, obróć pokrętła w kierunku przeciwnym do ruchu wskazówek zegara i wyciągnij pokrywę z zawiasów.

Zobacz także:  Honda Civic (1984-1987) - skrzynka bezpieczników i przekaźników

Honda Element (2003-2011) - skrzynka bezpieczników i przekaźników

Honda Element (2003-2011) - skrzynka bezpieczników i przekaźników

Numer Ampery [A] Opis
1 15 2003-2006: Cewki zapłonowe
2 15 Gniazdo zasilania tylnych akcesoriów
3 10 Jednostka sterująca światłami do jazdy dziennej, jednostka sterująca systemu monitorowania ciśnienia w oponach (TPMS) (2008-2011)
4 10 Alternator, przekaźnik czujnika stosunku powietrza do paliwa (A/F) (2003-2006), czujnik położenia wałka rozrządu (CMP), siłownik tempomatu, zespół elektrycznego detektora obciążenia (ELD), zawór odpowietrzający pochłaniacza par paliwa (EVAP), odprowadzenie par paliwa ( EVAP) Zawór oczyszczania kanistra, wtórna podgrzewana sonda lambda (HO2S), modulator-jednostka sterująca VSA (2007-2011), czujnik masowego przepływu powietrza (MAF) (2007-2011)
Reklama

5  –
6 7,5 Przekaźnik szyby elektrycznej, wyłącznik główny szyby elektrycznej
7 20 Wzmacniacz dźwięku
8 7,5 Jednostka audio, jednostka sterująca multipleksem (A/T)
9 10 Jednostka systemu wykrywania pozycji pasażera (OPDS), silnik spryskiwacza tylnej szyby, jednostka sterująca wycieraczki tylnej szyby, tył
Przełącznik wycieraczek/spryskiwaczy szyb
10 7,5 Przekaźnik cofania A/T, światła cofania, wyłącznik świateł cofania (M/T), zespół wskaźnika, odbiornik bezkluczykowy, jednostka sterująca multipleksu, przekaźnik blokady zmiany biegów (A/T), jednostka sterująca systemu monitorowania ciśnienia w oponach (TPMS) (2008- 2011)
11 7,5 2003-2006: Modulator ABS-jednostka sterująca
12 7,5 Jednostka sterująca światłami do jazdy dziennej
13 10 Jednostka dodatkowego systemu przytrzymującego (SRS)
14 10 Przekaźnik sprzęgła sprężarki klimatyzacji, przekaźnik wentylatora skraplacza klimatyzacji, przekaźnik silnika dmuchawy, siłownik lusterka mocy, przekaźnik wentylatora chłodnicy, silnik sterowania recyrkulacją, przekaźnik odmgławiacza tylnej szyby, panel sterowania nagrzewnicy
15 20 Czujnik stosunku powietrza do paliwa (A/F), przekaźnik czujnika A/F, zawór odpowietrzający kanistra (EVAP)
16 15 2007-2011: Przekaźnik cewki zapłonowej, cewki zapłonowe
17 15 ECM/PCM, pompa paliwa, odbiornik jednostki sterującej immobilizera, jednostka dodatkowego systemu bezpieczeństwa (SRS), jednostka Imoes (2008-2011), wskaźnik odcięcia poduszki powietrznej pasażera (2007-2011)
18 15 Gniazdo zasilania akcesoriów przednich, przekaźnik gniazda zasilania akcesoriów tylnych, gniazdo zasilania akcesoriów konsoli (SC)
19 7,5 Kierunkowskaz/przekaźnik świateł awaryjnych
20 20 Multipleksowa jednostka sterująca, silnik wycieraczki przedniej szyby, silnik spryskiwacza przedniej szyby
21  –
22 20 Silnik przedniej szyby pasażera
23 20 Silnik szyby kierowcy, jednostka sterująca szyby elektrycznej, główny wyłącznik szyby elektrycznej
Reklama

24  –
25  –
Przekaźnik
R1 Cięcie startowe (A/T)
R2 Światło tylne
R3 Zasilanie okna
R4 Kierunkowskazy i światła awaryjne
Zobacz także:  Honda HR-V (2019) - skrzynka bezpieczników i przekaźników

Komora silnika

Honda Element (2003-2011) - skrzynka bezpieczników i przekaźników

  1. 2003-2006: Modulator-jednostka sterująca ABS
    2007-2011: Modulator-jednostka sterująca VSA
  2. Skrzynka bezpiecznikowa

 

Schemat skrzynki bezpieczników w komorze silnika

Skrzynka bezpieczników pod maską znajduje się w komorze silnika po stronie kierowcy. Aby go otworzyć, naciśnij wypustki, jak pokazano.

Honda Element (2003-2011) - skrzynka bezpieczników i przekaźników

Honda Element (2003-2011) - skrzynka bezpieczników i przekaźników

Numer Ampery [A] Opis
1 30 Silnik wentylatora skraplacza klimatyzacji, sprzęgło sprężarki klimatyzacji
2 15 Przekaźnik świateł tylnych, światła deski rozdzielczej, przednie światła obrysowe boczne, przednie światła postojowe, oświetlenie tablicy rejestracyjnej, tylne światła, złącze oświetlenia przyczepy, wskaźnik odcięcia poduszki powietrznej pasażera
3 7,5 Przednie światło sufitowe, światło kluczyka zapłonu, tylne światło sufitowe, reflektory, indywidualne światło mapy (2009-2011)
4 20 Silnik wentylatora chłodnicy
5 15 Kierunkowskaz/przekaźnik świateł awaryjnych, kierunkowskazy, złącze modułu sterowania oświetleniem przyczepy
6 15 Czujnik położenia wału korbowego (CKP), czujnik położenia wałka rozrządu (CMP) Czujnik A/B, ECM/PCM, zawór sterowania powietrzem biegu jałowego (IAC), wtryskiwacze, główny przekaźnik PGM-FI nr 1, główny przekaźnik PGM-FI nr 2 ( Pompa paliwa), przekaźnik modułu sterującego siłownika przepustnicy (2007-2011)
7 15 Światła hamowania, sygnał hamowania (modulator-kontrola ABS), siłownik tempomatu, wysoko montowane światło hamowania, ECM/PCM, przekaźnik sygnału dźwiękowego, złącze oświetlenia przyczepy, złącze modułu sterowania bezpieczeństwem
Reklama

8 15 2007-2011: Przekaźnik modułu sterującego siłownika przepustnicy
9 10 Jednostka audio, jednostka nawigacji audio, złącze łącza danych (DLC), zespół licznika, odbiornik jednostki sterującej immobilizera, wskaźnik immobilizera, odbiornik bezkluczykowy, jednostka sterująca multipleksem, odbiornik XM, jednostka Imoes (2008-2011), złącze jednostki kontroli bezpieczeństwa, USB Jednostka adaptera
10 30 2003-2006: Modulator ABS-jednostka sterująca
30 2007-2011: Modulator-jednostka sterująca VSA
11 20 Odmgławiacz tylnej szyby
12 40 Silnik dmuchawy
13 40 Przekaźnik zasilania okna, bezpieczniki (przedział pasażerski): nr 7, 22, 23
14 40 Bezpieczniki (przedział pasażerski): nr 2, 3, 15, 16
15 15 Lewy reflektor, jednostka sterująca światłami do jazdy dziennej, wskaźnik świateł drogowych
20 2007-2008 SC: Lewy reflektor, przekaźnik świateł do jazdy dziennej, wskaźnik świateł drogowych
16 15 Jednostka sterująca multipleksu
17 15 Prawy reflektor, jednostka sterująca światłami do jazdy dziennej
20 2007-2008 SC: Prawy reflektor, przekaźnik świateł do jazdy dziennej
18 30 2003-2006: Modulator ABS-jednostka sterująca
30 2007-2011: Modulator-jednostka sterująca VSA
19 100 Akumulator, przekaźnik reflektorów, rozdział zasilania
20 50 Przełącznik zapłonu (BAT)
21  –
22  –
23  –
Reklama

24  –
25  –
Przekaźnik
R1 Lewy reflektor
R2 Prawy reflektor
R3 Silnik dmuchawy
R4 Odmgławiacz tylnej szyby
R5 Sprzęgło sprężarki klimatyzacji
R6 Wentylator chłodnicy
R7 Klakson
R8 Wentylator skraplacza klimatyzacji
R9 Jednostka detektora obciążenia elektrycznego (ELD)
Zobacz także:  Honda CR-V (2015-2016) - skrzynka bezpieczników i przekaźników

 

Jakub Wojciechowski

Jakub Wojciechowski

Czy ten wpis był przydatny?

Wybierz gwiazdkę, aby ocenić wpis!

Średnia ocen 5 / 5. Liczba ocen: 1

Brak ocen. Bądź pierwszą osobą - zostaw opinię!

Brak komentarzy.

Dodaj komentarz

Twój adres e-mail nie zostanie opublikowany. Wymagane pola są oznaczone *

Kategorie

Wszystkie prawa zastrzeżone ©2024 Schematy24