schematy24 logo header

Honda Civic (2001-2005) – skrzynka bezpieczników i przekaźników

Honda Civic (2001-2005) - skrzynka bezpieczników i przekaźników

Schematy skrzynek bezpieczników i przekaźników – Honda Civic

Dotyczy pojazdów wyprodukowanych w latach:

2001, 2002, 2003, 2004, 2005.

Za zapalniczkę (gniazda zasilania) w Honda Civic odpowiada bezpiecznik nr 18 w skrzynce bezpieczników tablicy rozdzielczej.

Przedział pasażerski

Honda Civic (2001-2005) - skrzynka bezpieczników i przekaźników
  1. Skrzynka bezpiecznikowa
  2. Jednostka sterująca świateł do jazdy dziennej (DRL)
  3. Hatchback: Przekaźnik świateł do jazdy dziennej (DRL)
  4. Hatchback (’02-’03): Przekaźnik odcinania świateł mijania
  5. Tempomat
  6. Hatchback: Odbiornik bezkluczykowy

 

Skrzynka bezpieczników w przedziale pasażerskim

Honda Civic (2001-2005) - skrzynka bezpieczników i przekaźników
Numer Ampery [A] Opis
1 15 z wyjątkiem hybryd: Cewki zapłonowe
15 Hybrydowy: moduł sterujący silnika (ECM), przednie cewki zapłonowe
2 20 Czujnik stosunku powietrza do paliwa (A/F)
3 10 Jednostka sterująca światłami do jazdy dziennej (DRL), jednostka sterująca Multiplex
Reklama

4 10 Przekaźnik czujnika powietrza paliwa (A/F), alternator, czujnik położenia wałka rozrządu (CMP), tempomat, zespół elektrycznego czujnika obciążenia (ELD), zawór elektromagnetyczny obejściowy kontroli emisji par (EVAP), zawór upustowy pochłaniacza EVAP, zawór odpowietrzający pochłaniacza EVAP Zawór, podgrzewana sonda lambda (HO2S), czujnik prędkości pojazdu (VSS), konwerter DC-DC (hybrydowy), moduł sterujący skrzyni biegów (TCM), trzeci podgrzewany czujnik tlenu (HO2S)
5
6 7,5 Jednostka sterująca szyberdachu, przekaźniki otwierania i zamykania dachu księżycowego, przekaźnik okna zasilania
7 20 Przekaźniki otwierania i zamykania szyberdachu
8 7,5 Jednostka audio, jednostka sterująca multipleksu, skrzynka interfejsu CarLink (CarLink)
9 10 Jednostka systemu wykrywania pozycji pasażera (OPDS) (boczna poduszka powietrzna), jednostka sterująca przerywanej wycieraczki tylnej szyby, silnik wycieraczki tylnej szyby, przełącznik wycieraczek/spryskiwaczy
15 Hybrydowy: moduł sterujący silnika (ECM), tylne cewki zapłonowe
10 7,5 Włącznik świateł cofania (M/T), jednostka sterująca elektronicznego wspomagania kierownicy (EPS), zespół wskaźników, odbiornik bezkluczykowy, jednostka sterująca multipleksem, jednostka sterująca bezpieczeństwem, przekaźnik cofania A/T (A/T), skrzynka interfejsu CarLink ( CarLink), elektromagnes blokady zmiany biegów (A/T)
11 7,5 Modulator ABS-jednostka sterująca
12 7,5 Jednostka sterująca światłami do jazdy dziennej (DRL), jednostka sterująca Multiplex
13 10 Jednostka dodatkowego systemu przytrzymującego (SRS)
14 10 Przekaźnik sprzęgła sprężarki klimatyzacji, przekaźnik wentylatora skraplacza klimatyzacji, przekaźnik silnika dmuchawy, panel sterowania nagrzewnicy, przełącznik lusterka zasilania, przekaźnik wentylatora chłodnicy, silnik sterowania recyrkulacją, przekaźnik odmgławiacza tylnej szyby
15 2 Jednostka kontroli bezpieczeństwa
10 Jednostka kontroli bezpieczeństwa
16 20 Podgrzewane siedzenie
7,5 Moduł sterowania silnikiem (MCM) Przekaźnik nr 1
17 15 Pompa paliwa, moduł sterujący silnika/zespołu napędowego (ECM/PCM), przekaźnik główny PGM-FI nr 2, jednostka dodatkowego układu unieruchamiającego (SRS)
18 15 Gniazdo zasilania akcesoriów
19 7,5 Przełącznik ostrzegania o zagrożeniach, kierunkowskaz/przekaźnik zagrożenia
20 30 Właz: Multipleksowa jednostka sterująca, przełącznik wycieraczek/spryskiwaczy przedniej szyby, silnik wycieraczek przedniej szyby
Reklama

20 Multipleksowa jednostka sterująca, przełącznik wycieraczek/spryskiwaczy przedniej szyby, silnik wycieraczek przedniej szyby
21 7,5 Hybrydowy: moduł sterujący silnika (ECM), przekaźnik odcinania rozrusznika
22 20 Przełącznik szyby pasażera, główny przełącznik szyby elektrycznej
23 20 Główny wyłącznik okna zasilania
24 20 Przełącznik lewego tylnego okna
25 20 Włącznik prawego tylnego okna
Uchwyt bezpiecznika
7,5 Hybrydowy: przekaźnik wentylatora gorącego restartu
Przekaźnik
R1 z wyjątkiem Hybrid: Starter Cut
R2 Światło tylne
R3 Zasilanie okna
R4 Kierunkowskaz/światła awaryjne
Zobacz także:  Honda Passport (1993-1997) - skrzynka bezpieczników i przekaźników
Honda Civic (2001-2005) - skrzynka bezpieczników i przekaźników
Honda Civic – schemat skrzynki bezpieczników – przedział pasażerski
  1. Jednostka sterująca immobilizera-odbiornik
  2. Jednostka audio
  3. Sedan, Coupe: Światła do jazdy dziennej (DRL) Przekaźnik
    Sedan, Coupe: Przekaźnik świateł mijania
  4. Panel sterowania nagrzewnicą

 

 

Hatchback

Honda Civic (2001-2005) - skrzynka bezpieczników i przekaźników
  1. Główny przekaźnik PGM-FI nr 1
    Główny przekaźnik PGM_FI nr 2 (pompa paliwa)
  2. Elektroniczny układ wspomagania kierownicy (EPS)
  3. Moduł sterujący silnika/zespołu napędowego (ECM/PCM)
  4. Przekaźnik czujnika stosunku powietrza do paliwa (A/F)
  5. Jednostka dodatkowego systemu przytrzymującego (SRS)
Zobacz także:  Honda Fit (Jazz) GD (2006-2008) - skrzynka bezpieczników i przekaźników

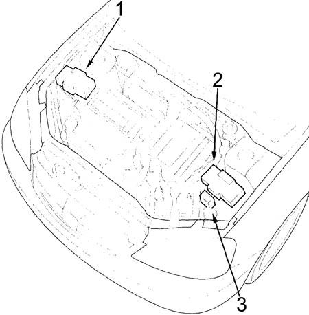
Sedan, coupe

Honda Civic - schemat skrzynki bezpieczników - przedział pasażerski (sedan, coupe)
  1. Odbiornik bezkluczykowy
  2. Moduł sterujący silnika/zespołu napędowego (ECM/PCM)
  3. Hybrydowy: moduł sterowania skrzynią biegów (TCM)
  4. Hybrydowy: Jednostka sterująca elektronicznego wspomagania kierownicy (EPS)
  5. Hybrydowy:  Przekaźnik czujnika stosunku powietrza i paliwa (A/F)
  6. Hybrydowy:  przekaźnik zwrotny A/T
  7. Przekaźnik główny PGM-FI nr 2 (pompa paliwa)
  8. Główny przekaźnik PGM-FI nr 1
  9. z wyjątkiem hybryd: Przekaźnik czujnika stosunku powietrza i paliwa (A/F)
  10. z wyjątkiem hybrydowego:  przekaźnik zwrotny A/T
  11. Jednostka dodatkowego systemu przytrzymującego (SRS)

Komora silnika

Honda Civic (2001-2005) - skrzynka bezpieczników i przekaźników
  1. z wyjątkiem Hatchback, hybryda: skrzynka bezpieczników
  2. Hatchback, hybrydowy: skrzynka bezpieczników
  3. Hybrydowy: Skrzynka przekaźnikowa

 

 

Skrzynka bezpieczników w komorze silnika

Honda Civic (2001-2005) - skrzynka bezpieczników i przekaźników
Numer Ampery [A] Opis
1 20 Silnik przekaźnika wentylatora skraplacza, przekaźnik sprzęgła sprężarki klimatyzacji
Reklama

2 15 z wyjątkiem hybrydowych: przekaźnik świateł tylnych, światła na desce rozdzielczej, przednie światła postojowe, przednie światła obrysowe boczne, panel sterowania nagrzewnicą, światła tablicy rejestracyjnej, światła tylne
10 Hybrydowy: Przekaźnik modułu sterowania silnikiem (MCM) nr 2
3 7,5 z wyjątkiem hybryd: oświetlenie przestrzeni ładunkowej, oświetlenie sufitowe/reflektory Przełącznik kluczyka zapłonu/światło kluczyka, reflektory, oświetlenie bagażnika
10 Hybrydowe: oświetlenie sufitowe, stacyjka/światło kluczyka, reflektory, przekaźnik świateł tylnych, oświetlenie bagażnika
4 20 Przekaźnik wentylatora chłodnicy
5 10 Przełącznik ostrzegający o zagrożeniach
6 15 Główny przekaźnik PGM-FI nr 1, czujnik położenia wału korbowego (CKP), moduł sterujący silnika/zespołu napędowego (ECM/PCM), wtryskiwacze, zawór sterowania powietrzem biegu jałowego (IAC), jednostka sterująca immobilizera-odbiornik, główny przekaźnik PGM-FI nr. 2, czujnik położenia wałka rozrządu (CMP) (TDC), moduł sterowania wtryskiwaczem, przekaźnik wtryskiwacza
7 15 Przełącznik położenia pedału hamulca, przekaźnik klaksonu, światła hamowania, sygnały hamowania (do modułu sterującego modulatora ABS, modułu sterującego silnika/zespołu napędowego (ECM/PCM), modułu
sterującego multipleksu)
8 20 Modulator ABS-jednostka sterująca
9 10 Jednostka audio, złącze łącza danych (DLC), zespół lcznika, jednostka sterująca immobilizera-odbiornik, jednostka bezkluczykowego odbiornika, jednostka sterująca multipleksem, skrzynka interfejsu CarLink, moduł sterowania silnikiem (MCM) (hybrydowy), moduł sterowania skrzynią biegów (hybrydowy), kontrola bezpieczeństwa Jednostka
10 40 Modulator ABS-jednostka sterująca
11 30 Przekaźnik odmgławiacza tylnej szyby
40 Coupe: Przekaźnik odmgławiacza tylnej szyby
12 40 Przekaźnik silnika dmuchawy
13 40 Bezpieczniki (przedział pasażerski): 7, 23
14 40 Bezpieczniki (przedział pasażerski): 2, 3, 5, 15, 16
40 Hybrydowy: Przekaźnik wentylatora gorącego restartu, bezpieczniki (przedział pasażerski): 2, 3, 5, 15, 16, bezpiecznik (przedział silnika): nr 60
15 15 Lewy reflektor, jednostka sterująca światłami do jazdy dziennej (DRL), przekaźnik DRL, zespół wskaźnika, lampka kontrolna świateł drogowych, jednostka sterująca multipleksem
20 Lewy reflektor, jednostka sterująca światłami do jazdy dziennej (DRL), przekaźnik DRL, dioda DRL, zespół wskaźnika, lampka kontrolna świateł drogowych, jednostka sterująca multipleksem
16 20 Zasilany zamek do drzwi, multipleksowa jednostka sterująca
Reklama

17 15 Prawy reflektor, przekaźnik świateł do jazdy dziennej (DRL), jednostka sterująca Multiplex
20 Prawy reflektor, jednostka sterująca światłami do jazdy dziennej (DRL), jednostka sterująca Multiplex
18 60 Elektroniczny układ wspomagania kierownicy (EPS)
19 80 Dystrybucja Mocy
20 40 Przełącznik zapłonu (BAT)
Przekaźnik
R1 Wentylator chłodnicy
R2 Sprzęgło sprężarki klimatyzacji
R3 Odmgławiacz tylnej szyby
R4 Silnik dmuchawy
R5 Reflektor nr 1
R6 Klakson
R7 Wentylator skraplacza
R8 Reflektor nr 2

Skrzynka przekaźników komory silnika (hybrydowa)

Honda Civic (2001-2005) - skrzynka bezpieczników i przekaźników
Numer Ampery [A] Opis
60 20 Silnik wentylatora chłodnicy
Przekaźnik
R1 Wentylator gorącego restartu
R2 PGM-FI Główny nr 2
Zobacz także:  Honda Accord (2013-2015) - skrzynka bezpieczników i przekaźników

Hatchback

Honda Civic (2001-2005) - skrzynka bezpieczników i przekaźników
  1. Jednostka sterująca dachem księżycowym
  2. Przekaźnik otwierania dachu księżycowego Przekaźnik
    zamykania dachu księżycowego
  3. Jednostka sterująca przerywanej wycieraczki tylnej

 

Sedan, coupe

Honda Civic (2001-2005) - skrzynka bezpieczników i przekaźników
  1. Hybrydowy: moduł sterowania silnikiem (MCM)
  2. Hybrydowy: przekaźnik MCM nr 1, przekaźnik MCM nr 2
    z wyjątkiem hybrydowego: przekaźnika otwartego szyberdachu, przekaźnika zamykającego szyberdach
  3. Główny wyłącznik zasilania okna

 

Jakub Wojciechowski

Jakub Wojciechowski

Czy ten wpis był przydatny?

Wybierz gwiazdkę, aby ocenić wpis!

Średnia ocen 5 / 5. Liczba ocen: 1

Brak ocen. Bądź pierwszą osobą - zostaw opinię!

Brak komentarzy.

Dodaj komentarz

Twój adres e-mail nie zostanie opublikowany. Wymagane pola są oznaczone *

Kategorie

Wszystkie prawa zastrzeżone ©2024 Schematy24