schematy24 logo header

Ford Taurus (1985-1991) – skrzynka bezpieczników i przekaźników

Ford Taurus (1985-1991) - skrzynka bezpieczników i przekaźników

Schematy skrzynek bezpieczników i przekaźników – Ford Taurus

Dotyczy pojazdów wyprodukowanych w latach:

1985, 1986, 1987, 1988, 1989, 1990, 1991.

 

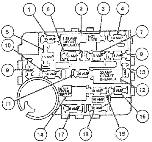
Skrzynka bezpieczników w przedziale pasażerskim

Panel bezpieczników znajduje się pod deską rozdzielczą po lewej stronie kierownicy.

Ford Taurus (1985-1991) - skrzynka bezpieczników i przekaźników

Ford Taurus (1985-1991) - skrzynka bezpieczników i przekaźników

Numer Ampery [A] Opis
1 15 Wysokie lampy stopu, światła stopu, przednie i tylne kierunkowskazy, kierunkowskazy na tablicy rozdzielczej, kontrola prędkości
2 7,5 Wyłącznik obwodu: silnik wycieraczki szyby przedniej, moduł wycieraczki przerywanej, silnik spryskiwacza szyby przedniej
3 Nieużywany
4 20 1993-1994: Przednie światła parkowania, boczne i tylne światła obrysowe, brzęczyk/dzwonek ostrzegawczy „Reflektory włączone”, przednia lampa laserowa (sable)
Reklama

15 1985-1992: Przednie światła postojowe, boczne i tylne, brzęczyk/dzwonek ostrzegawczy „Reflektory włączone”, przednia lampa laserowa (sable)
5 15 Klaster elektroniczny, przełącznik odszraniania tylnej szyby, elektroniczny migacz, lampy cofania, podgrzewana sonda lambda (H02S), podświetlany/bezkluczykowy moduł dostępu, elektromagnes blokady hamulca, procesor sterowania elektronicznym zamkiem drzwi
6 15 Silniki wycieraczek i spryskiwaczy tylnej szyby (wagony), moduł diagnostycznej lampki ostrzegawczej, sygnał ostrzegawczy, oświetlenie przełącznika reflektora (sable), oświetlenie zegara, oświetlenie radia, oświetlenie sterowania EATC, przekaźnik szyby zasilania, wzmacniacz kontroli prędkości
7 15 Światła przeciwmgielne
1992-1994: Moduł poduszki powietrznej
8 15 Zegar, pamięć radiowa, lampka w schowku na rękawiczki, lampka w bagażniku, lampki grzecznościowe w tablicy rozdzielczej, lampki wewnętrzne, podświetlany/bezkluczykowy moduł wejściowy, lusterka elektryczne, lampki w komorze silnika, gong kluczykowy zapłonu
9 30 Silnik dmuchawy, regulator prędkości dmuchawy (EATC) (1985-91)
10 20 Flash-to-Pass, światła drogowe i lampka kontrolna
11 20 Radio, wzmacniacz dźwięku klasy premium, silnik anteny mocy, nadmiarowy przełącznik radiowy
12 20 Wyłącznik obwodu: zapalniczki cygarowe, przekaźnik klaksonu, klaksony,
1993-94: Nieużywany
13 5 Podświetlenie zestawu wskaźników, wyświetlacz radia, podświetlenie pojemnika na popiół, wyświetlacz sterowania EATC, podświetlenie przełącznika odszraniania tylnej szyby, podświetlenie przełącznika tylnej wycieraczki, podświetlenie przełącznika reflektorów, wyświetlacz zegara, podświetlenie PRNDL
14 Nieużywany
15 10 Oświetlenie tablicy rejestracyjnej, lampy obrysowe boczne i tylne
16 5 Klaster elektroniczny, kontrola EATC
17 15 Sprzęgło sprężarki EATC, siłownik drzwi mieszanki, sprzęgło sprężarki klimatyzacji
18 10 Moduł lampy automatycznej, lampki ostrzegawcze klastra, przekaźnik niskiego poziomu oleju, brzęczyk/dzwonek

 

Zobacz także:  Ford Crown Victoria (1998-2002) - skrzynka bezpieczników i przekaźników

Lokalizacja świateł

Elektroniczny kierunkowskaz i migacz awaryjny są przymocowane do dolnego wzmocnienia tablicy rozdzielczej po lewej stronie za pomocą jednej śruby (nad panelem bezpieczników).

Ford Taurus (1985-1991) - skrzynka bezpieczników i przekaźników

Skrzynka bezpieczników w komorze silnika

Znajduje się po stronie kierowcy w komorze silnika.

Ford Taurus (1985-1991) - skrzynka bezpieczników i przekaźników

Ford Taurus (1985-1991) - skrzynka bezpieczników i przekaźników

Numer Ampery [A] Opis
1 10 Cewka zapłonowa
2 10 Kanał akcesoriów
Reklama

3 40 Blokada zasilania/okno
4 40 Anty blokada
5 40 Tylny odszraniacz
6 30 Moduł przeciwblokujący
7 60 Reflektory
8 40 Panel bezpieczników
9 60 Wentylator chłodzący silnik
10 30 Elektroniczne sterowanie silnikiem, moduł sterujący układu napędowego (1994), przekaźnik pompy paliwa (1994)
11 60 Przełącznik zapłonu/silnik dmuchawy
12 60 Przełącznik zapłonu/silnik dmuchawy
Zobacz także:  Ford Ranger (2004-2012) - skrzynka bezpieczników i przekaźników

Lokalizacje i wartości bezpieczników i wyłączników automatycznych, które nie znajdują się w panelach, są pokazane w poniższej tabeli zabezpieczeń obwodów.

Bezpiecznik Miernik Lokalizacja
Wyjście alternatora 12 W pobliżu skrzynki rozdzielczej zasilania
Obwód wykrywania napięcia alternatora 18 W pobliżu skrzynki rozdzielczej zasilania
Podgrzewana szyba przednia 18 W pobliżu podgrzewanego przekaźnika szyby przedniej

Jakub Wojciechowski

Jakub Wojciechowski

Czy ten wpis był przydatny?

Wybierz gwiazdkę, aby ocenić wpis!

Średnia ocen 0 / 5. Liczba ocen: 0

Brak ocen. Bądź pierwszą osobą - zostaw opinię!

Brak komentarzy.

Dodaj komentarz

Twój adres e-mail nie zostanie opublikowany. Wymagane pola są oznaczone *

Kategorie

Wszystkie prawa zastrzeżone ©2024 Schematy24